Методы измерений
1.2. Поршневые манометры
Поршневые манометры появились позже жидкостных. Впервые поршневой манометр был применен для измерения давления в 1833 г. Парротом и Ленцем (Российская Академия наук) при изучении сжимаемости воздуха и других свойств газов, причем значение давления для того времени было очень большим (10 МПа). Дальнейшее развитие поршневой манометрии шло, в основном, в сторону увеличения точности и верхних пределов измерений, а, начиная с тридцатых годов текущего столетия поршневые манометры стали вытеснять жидкостные и при точных измерениях давлений, близких к атмосферному давлению.
Большой вклад в развитие поршневой манометрии внесли проф. М.К. Жохов-ский, который впервые разработал целостную теорию приборов с неуплотненным поршнем, П.В. Индрик, В.Н. Граменицкий и многие другие их последователи.
В настоящее время в нашей стране и за рубежом поршневые манометры играют ведущую роль при поверке и испытаниях манометрических приборов в широком диапазоне давлений от 1 кПа до десятков тысяч МПа и находят все большее применение в качестве национальных государственных эталонов давления.
1.2.1. Принцип действия, основы теории и типы поршневых манометров
На рис.5 изображен простейший поршневой манометр, который состоит из цилиндрического поршня 1, притертого к цилиндру 2 с минимально возможным зазором. Если на нижний торец поршня действует измеряемое давление р, то для его уравновешивания к поршню должна быть приложена сила Р. Уравнение равновесия с учетом силы трения на боковую поверхность поршня, возникшей при протекании жидкости или газа через зазор между поршнем и цилиндром под действием измеряемого давления, имеет вид
рF = P-T, (7)
где F — геометрическая площадь поперечного сечения поршня; Т — сила жидкостного трения на боковую поверхность поршня.
Рис. 5. Простейший поршневой манометр
Наиболее часто измеряемое давление уравновешивают весом грузов, что явно предпочтительно с точки зрения достижения высокой точности измерений, хотя и представляет известные неудобства в эксплуатации.
Благодаря высокой стабильности эффективной площади, которая определяется в основном геометрическими размерами пары поршень - цилиндр, а также возможности учета внешних влияний расчетными методами, поршневые манометры являются идеальными преобразователями давления в силу.
Наиболее существенное достоинство поршневых манометров состоит в том. что они непосредственно воспроизводят давление по определению: давление равно силе, деленной на площадь поршня. Этот метод так же, как и метод уравновешивания давления столбом жидкости, является фундаментальным, т. е. измерение давления в конечном итоге сводится к измерению массы, длины и времени. Вышеизложенное позволяет сформулировать следующее определение.
Поршневой манометр — манометр, в котором действующее на поршень измеряемое давление преобразуется в силу и определяется по значению силы, необходимой для ее уравновешивания. В наиболее распространенных поршневых манометрах давление уравновешивается весом грузов. Такие манометры называются грузопоршневыми.
Одно из обязательных условий, обеспечивающих возможность выполнения измерения — сохранение постоянства измеряемого давления при его измерении. В жидкостно-поршневых манометрах это достигается уравновешиванием измеряемого давления гидростатическим давлением столба жидкости. Например, в колокольном манометре столб образуется в кольцевом пространстве между боковыми поверхностями колокола и сосуда, в которой залита разделительная жидкость (гидростатический затвор). В отличие от этого в поршневых манометрах постоянство давления в измерительной камере поддерживается благодаря гидравлическому сопротивлению протекания жидкости через зазор между поршнем и цилиндром (гидродинамический затвор). При этом ввиду малости зазора (1-2 мкм) гидравлическое сопротивление позволяет поддерживать постоянство давления с допускаемыми отклонениями. Не обеспечивая полную герметичность, гидродинамический затвор обладает очень важным преимуществом - измеряемое давление практически не влияет на размеры прибора, в то время как во всех жидкостных манометрах высота столба жидкости, необходимая для уравновешивания, прямо пропорциональна измеряемому давлению.
Измерительные системы поршневых манометров могут быть классифицированы по различным признакам: форме и конструкции поршневых пар, уравновешенности собственного веса поршня и способам его уравновешивания, видам измеряемой среды, способам уравновешивания измеряемого давления, назначению поршневого манометра, виду измеряемого давления и пр.
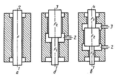
Основные конструктивные формы цилиндрических поршневых пар, представленные на рис. 6, позволяют осуществить преобразование измеряемого давления в силу или в давление другого назначения.
Различные формы поршневых пар при их применении в поршневых манометрах для измерения различных видов давления имеют свои преимущества и недостатки.
Рис. 6. Формы цилиндрических поршневых пар
При измерении избыточного давления наиболее предпочтительны одноступенчатые поршневые пары (рис. 6, а), которые обеспечивают максимальную конструктивную простоту манометров и технологичность их изготовления. При этом масса грузов, которые, как правило, применяются для уравновешивания измеряемого давления, при измерении избыточного давления (рабс > ратм) прилагается непосредственно к верхнему торцу 2 поршня; а при измерении отрицательного избыточного давления (рабс < ратм) к нижнему торцу 1 поршня. На этом принципе основаны образцовые и эталонные манометры с верхни ми диапазонами измерений от 40 кПа до 250 МПа, а в некоторых случаях до 600 МПа.
При измерении абсолютного давления и разности применение одноступенчатой поршневой пары приводит к существенному усложнению конструкции поршневого манометра и методики выполнения измерений. Так, при измерении абсолютного давления пространство над верхним торцом 2 поршня должно быть вакуумировано, что приводит к необходимости герметизации верхней части прибора, а это существенно усложняет процесс наложения уравновешивающих грузов при измерении давления. В данном случае более предпочтительно применение трехступенчатой поршневой пары (рис. 6, в), которая позволяет подводить измеряемое и опорное давления непосредственно в замкнутые измерительные камеры 2 и 3. При этом обеспечивается свободный доступ к верхнему торцу 4 поршня при наложении уравновешивающихся грузов.
Двухступенчатые (дифференциальные) поршневые пары (рис. 6. б) наиболее часто применяются для многократного уменьшения измеряемого давления при измерении высоких избыточных давлений или увеличения измеряемого давления при измерении низких давлений.
Показания поршневых манометров, как и любых других приборов, зависят от условий, в которых проводятся измерения. Поэтому, несмотря на то, что поршневые манометры являются наиболее стабильными по сравнению с манометрами других типов, в их показания при измерениях высокой точности необходимо вводить соответствующие поправки, учитывающие влияние условий измерений, k ним относятся влияние температуры окружающей среды, деформации поршня и цилиндра под действием измеряемого давления, а для поршневых манометров, в которых измеряемое давление определяется по весу уравновешивающих его грузов, необходимо учитывать местное ускорение свободного падения и потерю массы грузов в воздухе.
