Методы измерений
Уравнение (2) с точки зрения измерения давления является фундаментальным, так как давление, в конечном итоге, определяется основными физическими величинами - массой, длиной и временем. Это уравнение справедливо для всех без исключения типов жидкостных манометров. Отсюда следует определение, что жидкостный манометр - манометр, в котором измеряемое давление уравновешивается давлением столба жидкости, образующегося под действием этого давления. Важно подчеркнуть, что мерой давления в жидкостных манометрах является высота столба жидкости. Именно это обстоятельство привело к появлению единиц измерений давления мм вод. ст., мм рт. ст. и других которые естественным образом вытекают из принципа действия жидкостных манометров.
Чашечный жидкостный манометр (рис. 2, б) состоит из соединенных между собой чашки 1 и вертикальной трубки 2, причем площадь поперечного сечения чашки существенно больше, чем трубки. Поэтому под воздействием разности давлений Δр изменение уровня жидкости в чашке гораздо меньше, чем подъем уровня жидкости в трубке: Н1 = Н2 • f/F, гае Н1 - изменение уровня жидкости в чашке.; Н2 - изменение уровня жидкости в трубке; f - площадь сечения трубки; F - площадь сечения чашки.
Отсюда высота столба жидкости, уравновешивающей измеряемое давление
Н = Н1 + Н2 = Н2 (1 + f/F), (4)
а измеряемая разность давлений
р1-p2=Н2•g(1+f/ F), (5)
Поэтому при известном коэффициенте k = 1 + f/F разность давлений может быть определена по изменению уровня жидкости в одной трубке, что упрощает процесс измерений.
Двухчашечный манометр (рис. 2, в) состоит из двух соединенных при помощи гибкого шланга чашек 1 и 2, одна из которых жестко закреплена, а вторая может перемещаться в вертикальном направлении. При равенстве давлений pl и р2 чашки, а следовательно, свободные поверхности жидкости находятся на одном уровне I-I. Если р1 > р2, то чашка 2 поднимается вплоть до достижения равновесия в соответствии с уравнением (3).
Единство принципа действия жидкостных манометров всех типов обусловливает их универсальность с точки зрения возможности измерения давления любого вида — абсолютного и избыточного и разности давлений.
К важной метрологической характеристике средств измерения давления относится чувствительность измерительной системы, которая во многом определяет точность отсчета при измерениях и инерционность. Для манометрических приборов под чувствительностью понимается отношение изменения показаний прибора к вызвавшему его изменению давления (п =ΔН/Δр).
Диапазоны измерений жидкостных манометров в соответствии с (2) определяются высотой столба жидкости, т. е. размерами манометра и плотностью жидкости. Наиболее тяжелой жидкостью в настоящее время является ртуть, плотность, которой р = 1,35951 • 104 кг/м . Столб ртути высотой 1 м развивает давление около 136 кПа, т. е. давление, не из много превышающее атмосферное давление. Поэтому при измерении давлений порядка 1 МПа размеры манометра по высоте соизмеримы с высотой трехэтажного дома, что представляет существенные эксплуатационные неудобства, не говоря о чрезмерной громоздкости конструкции. Тем не менее, попытки создания сверхвысоких ртутных манометров предпринимались. Мировой рекорд был установлен в Париже, где на базе конструкций знаменитой Эйфелевой башни был смонтирован манометр высотой ртутного столба около 250 м, что соответствует 34 МПа. В настоящее время этот манометр разобран в связи с его бесперспективностью.
1.1.2. Жидкостно-поршневые манометры
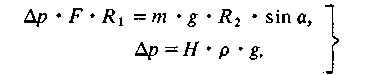
Очень часто к жидкостным манометрам относят приборы, измерительная система которых хотя и содержит в качестве одного из элементов жидкость, но по принципу действия в корне отличается от жидкостных манометров. К таким приборам относится дифференциальный манометр типа „кольцевые весы" (рис. 3), состоящий из тороидального корпуса 1, внутренняя полость которого в верхней части разделена перегородкой 2, а нижняя часть до половины заполнена жидкостью 4. Таким образом, корпус имеет две измерительные камеры А и Б, в которые через гибкие шланги подаются измеряемые давления pl и р2. Корпус может поворачиваться относительно опоры 3, расположенной в его геометрическом центре. К нижней части корпуса прикреплен противовес 5.
При равенстве давлений в камерах А и Б корпус прибора располагается в соответствии с рис. 4, а. Если одно из давлений больше другого, например, р1 > р2 то под действием разности давлений Δр = p1 – р2, воздействующей на перегородку, корпус повернется на определенный угол α, а уровни жидкости внутри корпуса займут положения, соответствующие рис. 4, б. При этом уравнения равновесия измерительной системы принимают вид
, (6)
Рис. 3. Дифференциальный манометр типа „Кольцевые весы"
где F — площадь перегородки (внутренняя площадь поперечного сечения тороида); r1 — средний радиус тороида; R2 — расстояние от оси вращения до центра тяжести противовеса; т — масса противовеса; g — ускорение свободного падения; α — угол поворота корпуса.
Таким образом, давление определяется массой противовеса, геометрическими параметрами прибора и углом поворота корпуса, а роль заполняющей измерительную систему жидкости сводится к созданию жидкостного затвора между камерами А и Б. Поэтому по виду первичного преобразования - давления в силу, действующую на перегородку, - прибор аналогичен поршневым манометрам.
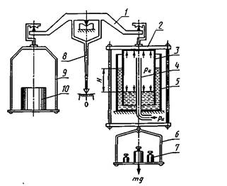
Еще в большей мере сказанное относится к колокольным манометрам, применяемым в качестве образцовых и эталонных приборов. Основные элементы измерительной системы манометра (рис. 4) : наполовину заполненный водой сосуд 5, цилиндрический колокол 3, подвеска 2 с чашкой 6 для наложения грузов 7, рычаг 1 весового компаратора с указателем положения равновесия 8 и подвески 9 с тарировочным грузом 10. Измеряемое давление подводится под колокол трубкой 4.
Измерительной камерой прибора является внутренняя полость колокола, ограниченная дном и внутренней поверхностью цилиндрической части колокола и свободной поверхностью жидкости в его нижней части. При проведении измерений камера предварительно сообщается с атмосферным давлением и вес частично погруженного в жидкость колокола уравновешивается тарировочным грузом 10.
Рис. 4. Измерительная система манометра
Тогда при подаче в камеру измеряемого давления для сохранения положения равновесия на чашку 6 необходимо наложить грузы 7, вес которых и является мерой измеряемого давления. При этом давление в камере будет уравновешиваться противодавлением столба жидкости в кольцевом зазоре между наружной поверхностью колокола и внутренней поверхностью сосуда 5. Таким образом, роль жидкости так же, как и в вышеописанном приборе, ограничивается созданием жидкостного затвора для удержания давления в измерительной камере, так как составляющими сил давления на боковую поверхность колокола в вертикальном направлении при условии соблюдения технологии его изготовления можно пренебречь.
