Разработка модели технологического процесса получения ребристых труб и ее апробацияРефераты >> Технология >> Разработка модели технологического процесса получения ребристых труб и ее апробация
С целью изучения герметичности чугунов многими исследователями были проведены ряд опытов, которые проливают свет на природу герметичности чугунов. Герметичность определяют различными способами: минимальной толщиной стенки, выдерживающей заданное давление, максимальным давлением до появления течи, расходом жидкости и газа через стенку определенной толщины при постоянном давлении, поэтому невозможно сопоставить результаты отдельных исследователей.
Так, например, Г.Тамман и Г.Брейдемейер предложили метод определения пористости чугуна красящими веществами. Чугунные кубические образцы с длиной ребер 30 и 60 мм помещали в свободное пространство стального цилиндра с плотно пригнанным поршнем, заливались водным раствором фуксина или зозина и с помощью пресса в течение 10-30 минут подвергали гидростатическому давлению. По количеству красителя, проникающего в образец, определялась пористость чугуна. [24].
В США применяется электропневматический метод испытания на герметичность. [8]. Скорость утечки сжатого воздуха из полости отливки контролируется электрическими датчиками. Метод пригоден для проверки различных по объему образцов при различных давлениях и позволяет качественно оценить герметичность, автоматизировать процесс испытания и автоматически сортировать отливки по герметичности.
Герметомер, созданный в Санкт-Петербургском политехническом институте (Россия), основан на определении количества газа, просочившегося через стенку образца за определенное время. [8]. Герметичность определяют с достаточно высокой точностью. Недостаток - низкая производительность и необходимость изготовления специальных образцов.
На предприятиях, выпускающих гидравлическую аппаратуру и оборудование, испытания на герметичность проводят на специальных стендах. К рабочей полости изделия в течение определенного времени под давлением (1.5-2.5 номинального) подводится рабочая жидкость. По величине потери давления определяется герметичность рабочей полости. [8].
В Одесском политехническом университете проводились исследования герметичности серых чугунов, подвергая образец, вырезанный из отливки, одностороннему давлению жидкости (газа). [9].
Результаты испытания серых чугунов разного состава иллюстрируют влияние графитовой и усадочной пористости на характер фильтрации жидкости. Анализ показывает, что количество просочившейся жидкости и, следовательно, определившаяся при этом величина герметичности зависят от пористости в сплаве, а также от свойств металлической основы (фазовый состав, прочность и пластичность материала). [8,9].
Известно, что величина и тип пористости, являющийся одним из основных критериев герметичности, в значительной степени зависят от величины интервала кристаллизации. [19]. Поэтому большое значение приобретает химический состав применяемого чугуна, определяющий интервал кристаллизации. Исследованы зависимости пористости от содержания в чугуне углерода и кремния. [19, 20, 21]. Установлено, что при увеличении содержания углерода и кремния возрастают число пор и их размер.
Установлено, что герметичность чугунных отливок с пластинчатым графитом зависит от количества и размеров включений графита в структуре чугуна. [22]. Графитовые включения, сообщаясь между собой, приводят к образованию “транзитной” микропористости из-за сообщаемости между собой зазоров на границах графит-матрица по сечению стенки отливки, что приводит к браку отливки по “течи”. По этим зазорам проникают жидкости и газы в стенках сосудов, работающих под давлением. [23].
Учитывая все вышеизложенное, основными мероприятиями, направленными на совершенствование технологии радиаторного литья, должны быть;
- создание технологичных конструкций;
- повышение плотности серого чугуна и использование его взамен высокопрочного чугуна и стали;
- дальнейшие исследования по изучению герметичности различных сплавов;
совершенствование системы заливки и питания отливки.
2. РАЗРАБОТКА ТЕХНОЛОГИЧЕСКОГО ПРОЦЕССА ИЗГОТОВЛЕНИЯ ОТЛИВКИ ТЕПЛООБМЕННИКА
При разработке литейной технологии очень важен обоснованный выбор наиболее рациональных приемов, обеспечивающих необходимые эксплуатационные свойства литых деталей и высокие технико-экономические показатели производства: получение качественных отливок при минимальной их стоимости; высокая производительность; экономия металла в результате уменьшения припусков на обработку; экономия топлива, электроэнергии и вспомогательных материалов; максимальное использование имеющегося оборудования и оснастки.
Проектирование технологического процесса изготовления отливки включает разработку необходимой технологической документации: чертежей, расчетов, технологических карт и др. Объем технологической документации зависит от типа производства (единичное, мелкосерийное, серийное, массовое). В условиях единичного и мелкосерийного производства все технологические указания наносят непосредственно на чертеж детали. При серийном и массовом производстве на основании анализа технический условий на деталь и ее конструкции, расчетов и справочных данных разрабатывают чертеж отливки, чертежи моделей, стержневых ящиков, модельных плит и т.д.
Правила выполнения чертежей элементов литейной формы и отливки установлены ГОСТ 2.423-73.
2.1. АНАЛИЗ ЗАКАЗА
Прежде чем приступить к проектированию технологии изготовления отливки, необходимо оценить возможности и целесообразность выполнения заказа на данном предприятии, руководствуясь техническими возможностями различных способов литья, общими принципами классификации отливок по их характерным признакам, сведениям о мощности подъемно-транспортных средств, наличии необходимого технологического оборудования, опок, материалов и др [29].
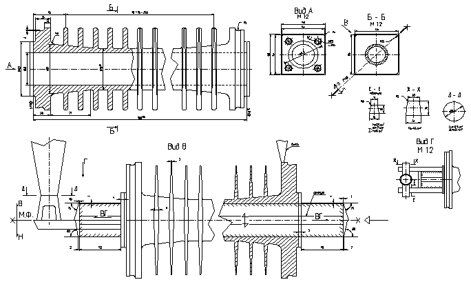
Деталь теплообменник (рис.2-1) по назначению относится к особоответственным отливкам, т.к. работает под давлением в агрессивной среде. Отливка подвергается испытанию давлением 11 кгс/см2.
Производство отливок единичное. Опытная партия составляет 34 шт. Отливка по массе относится к 1 группе - мелкие отливки, т.к. ее масса составляет 34 кг. По сложности отливка относится к 2 группе сложных отливок.
Рис.2-1. Труба ребристая
Имеющееся в расположении технологическое оборудование дает возможность отлить опытную партию отливок в сырые песчано-глинистые формы при ручном способе изготовления форм.
2.2. АНАЛИЗ ТЕХНОЛОГИЧНОСТИ КОНСТРУКЦИИ ЛИТОЙ ДЕТАЛИ И ВЫБОР СПОСОБА ИЗГОТОВЛЕНИЯ ОТЛИВКИ
Технологичной называют такую конструкцию изделия или составных ее элементов (деталей, узлов, механизмов), которая обеспечивает заданные эксплуатационные свойства продукции и позволяет при данной серийности изготовлять ее с наименьшими затратами. Технологичная конструкция характеризуется простотой компоновки, совершенством форм. При наличии отклонений от указанных требований должен быть поставлен вопрос о внесении в конструкцию детали необходимых изменений [29].
