Разработка модели технологического процесса получения ребристых труб и ее апробацияРефераты >> Технология >> Разработка модели технологического процесса получения ребристых труб и ее апробация
Плотность формовочной смеси в верхней полуформе должна быть несколько меньше, чем в нижней. Это необходимо в связи с тем, что на смесь в нижней полуформе действует масса отливки. Поэтому смесь в ней должна быть более прочной, не деформироваться. В верхней полуформе создают условия для удаления пара и газов. Но для данной отливки плотность формовочной смеси в верхней полуформе превосходит необходимую плотность формовочной смеси в нижней полуформе. Это связано с тем, что из-за высокого и тонкого рельефа модели уплотненная формовочная смесь имеет тенденцию к отрыву и выпадению из формы, т.е. полуформа разрушается. При таком уплотнении удаление газа и пара из формы производится через систему вентиляционных каналов.
Накалывание вентиляционных каналов производят металлическими иглами разной длины и диаметра. На 1 дм площади сырой формы выполняют 3-4 накола. Кроме того, полость формы, формирующая ребро отливки, накалывается изнутри. Таким образом нормализуется газовый режим и компенсируется плотная набивка полуформы верха.
3.4. ИЗГОТОВЛЕНИЕ СТЕРЖНЕЙ
Стержни должны обладать высокой газопроницаемостью, прочностью, податливостью и выбиваемостью. Эти свойства обеспечиваются выбором стержней смеси и конструкцией стержня.
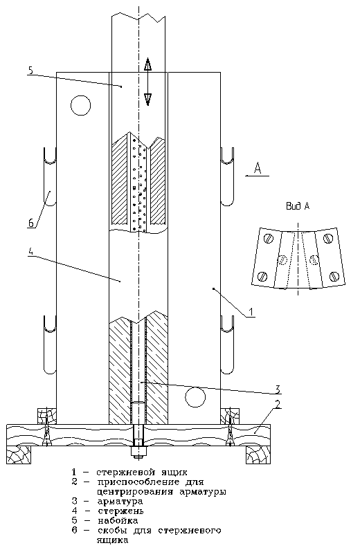
Стержень изготавливается в деревянном разъемном стержневом ящике (рис.2-6). Крепление половинок ящика между собой производится скобами типа “ласточкин хвост”. Собираются половинки по шипам. Собранный стержневой ящик устанавливается на специальную подложку, на которой крепится арматура будущего стержня (рис. 3-6). Набивка стержня производится в вертикальном положении при помощи специальной набойки, полой внутри. Арматура стержня также является и газовентиляционным ходом, т.к. она полая и в ее стенках имеются отверстия, через которые происходит удаление газа из стержня в его знаковые части.
3.5. СУШКА СТЕРЖНЕЙ
Сушка стержней необходима для повышения их прочности, газопроницаемости и уменьшения газотворной способности. Сушка является более длительной операцией по сравнению с операцией изготовления стержня. Длительность операции сушки зависит от требуемой температуры, массы стержня и других факторов. Продолжительность сушки может достигать нескольких часов.
Процессы, происходящие при сушке, а также температура сушки зависят от типа связующих. При сушке стержней, изготовленных с применением сульфитной барды, происходит испарение воды, образуется смола, которая обладает упрочняющими свойствами. Температура сушки этих смесей составляет 165-190°С[27].
Рис.3-6. Схема набивки стержневого ящика
4. АНАЛИЗ БРАКА ПОЛУЧЕННЫХ ОПЫТНЫХ ОТЛИВОК И ПУТИ ЕГО УСТРАНЕНИЯ
В процессе разработки технологии и совершенствовании ее от первого варианта (рис.2-2, а) ко второму (рис.2-2, б), получали отливки, в которых наблюдался брак, связанный с различными факторами. Анализ различных видов брака при литье ребристых теплообменников (радиаторов) позволил предпринять ряд мер по его предотвращению, что, в свою очередь, вносило коррективы в разработанную технологию.
Тонкостенное литье, каким является радиаторное производство, имеет свои специфические особенности. При тонкостенном литье особенно часто наблюдается, что один и тот же вид брака вызывается разными причинами. Только детальное изучение характерных внешних признаков каждого вида брака с нахождением отличительных, решающих признаков позволяет верно классифицировать брак, а следовательно, выявить действительную причину.
Так, например, радиатор не выдерживает гидравлической пробы и дает течь или потение вследствие наличия следующих дефектов:
1) спая;
2) засоров (земляных и шлаковых);
3) раковин (газовых, усадочных);
4) пористой структуры металла;
5) тонкого тела (1-1.5 мм).
Часто этот вид брака относят за счет неудовлетворительной земли или пористого (вследствие крупной графитизации) металла. В действительности брак вызывается совокупностью причин, связанных с неправильной формовкой, заливкой и плохим качеством земли и металла.
Причины брака по вине формовки:
1) модель не засеяна (с крупных кусков гравия и металла легко смывается земля);
2) формы и стержни не продуты;
3) модель не очищена от приставших частиц земли (особенно резко сказывается при горячей влажной земле);
4) не отделан литник (чаша имеет обрывистую, не гладкую поверхность);
5) сдвинуты опоки.
Размывание земли металлом (струя не попадает в середину литника), незаполнение литниковой системы, повышенная скорость заливки и зашлаковывание обусловливают получение бракованных радиаторов.
Из числа причин, связанных с качеством земли, следует отметить следующие:
1) недостаточная связность (недостаток глины, плохая механическая обработка);
2) низкая влажность (меньше 4.5 %);
3) малая газопроницаемость;
4) запыленность;
5) крупнозернистый песок.
Рис.4-1. Недолив
Металл, содержащий газовые и усадочные раковины (высокозернистый, окисленный металл), и холодный металл (температура ниже 1340 °С) также является причиной брака. Пористость чугуна в радиаторах обусловлена крупной графитизацией.
Самым характерным видом брака является непроливаемость тонких ребер поверхности теплообмена радиатора (рис.4-1). Такой вид брака возможен по двум причинам: “замерзание” металла и неудовлетворительный газовый режим формы. С целью улучшения газового режима формы в полуформе верха для каждого ребра были выполнены наколы, что заметно снизило количество не проливаемых ребер. Для полного устранения этого дефекта необходимо обеспечить подпитку каждого ребра свежими порциями металла. С этой целью предусмотрены пенополистироловые вкладыши (рис.2-2, б), которые вкладываются в процессе формовки между каждым ребром в верхней его части и после удаления модели остаются в форме (рис.2-3). В процессе заливки формы пенополистирол разлагается и образовавшийся канал связывает все ребра между собой и двумя массивными фланцами. По этому каналу осуществляется подпитка ребер жидким металлом до полного их заполнения. Таким образом полностью исключается брак по непроливаемости ребер (рис.4-2).
Рис.4-2. Годная отливка
Однако, ввод в форму пенополистироловых вкладышей приводит к повышению газотворности формы, что в свою очередь приводит к такому дефекту как газовые раковины. На рис.4-3 показан характерный вид брака для данной отливки - газовая раковина на фланце. Для предотвращения этого вида брака необходимо улучшить систему вентиляции формы. С этой целью на отливке установлены два выпора (рис.2-2, б). Выпора, в совокупности с вентиляционными каналами, обеспечивают своевременный отвод газов из полости формы. Для того, чтобы система выпоров сработала, необходимо также предотвратить их замерзание, т.к. если выпор закристаллизуется раньше, чем весь металл в форме, то он закроет выход газа из полости формы и газ останется в металле. Такое явление наблюдалось на ряде отливок. Для исключения этого явления необходимо увеличить площадь сечения выпора. Такой выпор играет двойную роль: обеспечивает своевременный выход газа и подпитку отливки жидким металлом во время кристаллизации, выполняя роль прибыли. Таким образом предотвращаются газовые дефекты и усадочные раковины, которые возможны при заливке в форму перегретого металла.
