Разработка модели технологического процесса получения ребристых труб и ее апробацияРефераты >> Технология >> Разработка модели технологического процесса получения ребристых труб и ее апробация
а
б
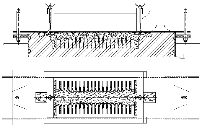
Рис.2-2. Технология: а) первый вариант,
б) второй вариант.
При выборе способа изготовления отливки в первую очередь принимают во внимание результаты предварительного анализа заказа и технологичности детали. При этом, как правило, определяющим фактором является серийность производства, реже - технические требования, предъявляемые к изделию, что влияет на стоимость формы и модельной оснастки. В единичном, мелкосерийном и серийном производстве отливки изготавливают обычно литьем в песчаные сырые формы.
Отливку теплообменник получаем литьем в песчано-глинистые сырые формы. Способ формовки - ручная.
Конструктивные особенности и сложность конфигурации радиатора обусловливают некоторые технологические особенности при литье данной отливки в песчано-глинистые формы. Отличительной особенностью радиатора является конструкция поверхности теплообмена. Традиционные круглые ребра заменены на квадратные, что позволяет при неизменных габаритах увеличить площадь теплообмена почти в 1.5 раза. Это потребовало технологического решения, которое заключается в том, что разъем выбран по диагонали фланца. Это обеспечивает направленный выход газов через вентиляционные каналы для каждого ребра отливки (рис.2-2).
Так как отливка тонкостенная, то возникает проблема проливаемости всех ребер при литье во влажную песчано-глинистую форму. С этой целью в верхней полуформе между ребрами устанавливаются пенополистироловые вставки, соединяющие ребра между собой в их верхней части. После удаления модели вставки остаются в форме и при заливке располагаются так, что образуют подпиточный канал между двумя массивными фланцами (рис.2-3).
Это предотвращает замерзание металла в тонких частях отливки. Образующийся канал также улучшает вентиляцию полости формы, так как соединен с двумя выпорами. Газы, образующиеся во время заливки вместе с продуктами деструкции пенополистироловых вставок удаляются по этому каналу через выпора и наколы.
Внутренняя полость данной отливки формируется протяженным стержнем (отношение длины к диаметру составляет 11.7). Стержень изготавливается на органических связующих. В качестве арматуры применяется труба с отверстиями, обеспечивающими отвод газов в знаковые части (рис.2-3).
В связи с высоким рельефом и большой поверхностной площадью модели ее протяжка затруднена. При протяжке наблюдались обрывы формовочной смеси в межреберном пространстве и массовые засоры полости формы. Так как формовка осуществляется ручным способом, то в результате интенсивного расталкивания происходит износ и разрушение модели. Для снижения износа модели и улучшения качества формовки применили протяжной шаблон и специальное подъемное резьбовое приспособление для извлечения модели из формы (рис.2-4).
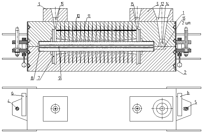
Рис.2-3. Форма в сборе
1. Полуформа верха,
2. Полуформа низа,
3. Наращалка,
4. Штырь центрирующий,
5. Штырь направляющий,
6. Струбцина,
7. Полость формы,
8. Стержень,
9. Арматура,
10.Пенополистироловые вкладыши,
11.Газоотводные наколы,
12.Стояк,
13.Питатель,
14.Шлакоуловитель,
15.Выпор.
Рис.2-4. Устройство для протяжки модели:
1.Опока низа;
2.Модель;
3.Шаблон;
4.Устройство протяжки.
2.3. ОПРЕДЕЛЕНИЕ ПОЛОЖЕНИЯ ОТЛИВКИ В ФОРМЕ ПРИ ЗАЛИВКЕ
При определении положения отливки в форме нужно руководствоваться несколькими правилами, подтвержденными многолетней практикой [29].
1. Наиболее ответственные рабочие части, плоские поверхности большой протяженности, места, подлежащие механической обработке, нужно, по возможности, располагать внизу; в крайнем случае - вертикально или наклонно. При вынужденном расположении обрабатываемых поверхностей вверху нужно обеспечить такие условия, при которых песчаные и газовые раковины могли бы образоваться только в удаляемых при обработке частях отливки.
2. Формы для отливок, имеющих конфигурацию тел вращения (гильзы, барабаны, шпиндели и др.) с обрабатываемыми наружными и внутренними поверхностями, лучше заливать в вертикальном положении или центробежным способом. Иногда целесообразно формовку выполнять в одном положении, а заливать форму в другом.
3. Для отливок, имеющих внутренние полости, образуемые стержнями, выбранное положение должно обеспечивать возможность проверки размеров полости формы при сборке, а также надежное крепление стержней.
4. Для предупреждения недоливов тонкие стенки отливки следует располагать в нижней части полуформы, желательно вертикально или наклонно, причем путь прохождения металла от литниковой системы до тонких стенок должен быть кратчайший.
5. Отливки из сплавов с большой усадкой располагать в положении, удобном для питания их металлом верхних или боковых отводных прибылей.
6. Формы для станин, плит и других отливок с большим числом ребер должны быть при заливке расположены так, чтобы имелась возможность направить металл вдоль стержней и выступов формы.
Важным является определение оптимального числа отливок в форме. В условия единичного и мелкосерийного производства отливок в песчаных формах желательно в форме размещать одну отливку.
Выбор поверхности разъема формы подчинен выбору положения формы при заливке. При определении поверхности разъема формы необходимо руководствоваться следующими положениями:
· форма и модель, по возможности, должны иметь одну поверхность разъема, желательно плоскую горизонтальную, удобную для изготовления и сборки формы;
· модель должна свободно извлекаться из формы;
· всю отливку, если позволяет её конструкция, нужно располагать в одной (преимущественно в нижней) полуформе в целях исключения перекоса;
· при формовке в парных опоках следует стремиться к тому, чтобы общая высота формы была минимальной.
Для повышения технологичности получения данной отливки разъем выбирается по диагонали фланца (см. рис.2-2). Плоскость разъема модели совпадает с плоскостью разъема формы, отливка симметрично располагается в верхней и нижней полуформах (рис.2-2).
2.4. ОПРЕДЕЛЕНИЕ УЧАСТКОВ ПОВЕРХНОСТИ ОТЛИВКИ, ВЫПОЛНЯЕМЫХ СТЕРЖНЯМИ
Предварительно необходимо определить возможность выполнения отверстий в процессе получения отливки и тех частей отливки, которые не могут быть получены с помощью модели. Число стержней, служащих для оформления полости отливки, её отдельных элементов и элементов литниковой системы, определяю с учетом серийности выпуска отливок. В единичном и мелкосерийном производстве целесообразно получать отливки с использованием минимального числа стержней или вовсе без них [29].
При определении участков поверхности отливки, выполняемых стержнями, нужно руководствоваться следующими правилами.
1. Обеспечивать минимальные затраты на изготовление стержневых ящиков.
2. Обеспечивать удобную установку стержней в форму и контроль всех размеров полостей в ней.
