Комплект технологической документации по оптической контактной литографииРефераты >> Журналистика >> Комплект технологической документации по оптической контактной литографии
Выбор и описание технологического оборудования
Внешний вид установки отмывки и сушки OSTEC ADT 976 представлен на рис. 6 а, принципиальная схема рис. 6 б. Установка последовательно осуществляет струйную обработку пластин деионизованной водой и сушку горячим азотом при одновременном центрифугировании.
Блок отмывки и сушки выполнен в виде цилиндрической камеры 11, через дно которой введен вал центрифуги 14. Привод вращения центрифуги 10 содержит электродвигатель постоянного тока с регулируемым числом оборотов. На валу центрифуги закреплены держатели для 8и пластин. Камера закрывается сверху крышкой 8, которая в рабочем состоянии прижимается к торцу камеры через прокладку 7 с помощью вакуумной рубашки 6. В центре установки закреплен патрубок 9 с форсунками, через которые подается вода для струйной обработки и азот для сушки. Подача воды и азота управляется последовательным включением электромагнитных клапанов 3, в магистрали подачи азота установлен электрический подогреватель 4. В дне камеры выполнено дренажное отверстие 13, сбоку расположен патрубок для соединения с вытяжной вентиляцией 12. Патрубок 1 деионизированная вода патрубок 2 азот патрубок 5 вакуум
Установка совмещения и экспонирования OSTEC EVG620 представлена на рис 7, она состоит из модуля предварительного позиционирования рис 8, манипулятора рис. 9, калибратора рис 10, блока экспонирования рис 11.
Модуль предварительного позиционирования рис 8 состоит из блока предварительного позиционирования a, транспортера b и манипулятора c. Механизм позиционирования подложек a выполнен в виде столика 2 с вакуумным зажимом, вокруг которого установлены 3и ролика, Ролики 1 не имеют собственного привода, ролик 3 получает вращение от электродвигателя. Вращение подложки контролирует датчик 4, определяя положение ее бокового среза, раструб воздушной завесы 11 не дает пыли подлетать к столику. После предварительного позиционирования рука 6 транспортера b накрывает подложку вакуумным захватом 8 подключенного к шлангу вакуума 5. Вращаясь на шарнире 7, рука транспортера устанавливает подложку на поворотный диск 10 манипулятора 9.
Рис. 8 Принципиальная схема модуля предварительного позиционирования уст. OSTEC EVG620
Манипулятор рис. 9 обеспечивает перемещение подложки по ортогональным осям и ее поворот при совмещении с фотошаблоном.
Рис. 9 Принципиальная схема манипулятора установки OSTEC EVG620
Внутри литого корпуса 1установлен поворотный диск 7 с вакуумным зажимом, соединенный с механизмом вертикальных перемещений рис 10. Поворотный диск центрируется тремя подшипниками 5. Угловой поворот диска 7 производится электродвигателем 9, который по средствам тяги 6, и связанного с ней упора 11, поворачивает диск 7. Перемещение по оси X осуществляется с помощью электродвигателя 10, который по средствам тяги 6, и связанного с ней эксцентрика 4, воздействует на панель 3. Для перемещения по оси Y используется электродвигатель 8, который по средствам тяги 6, и связанного с ней эксцентрика 4, воздействует на панель 3. С противоположных эксцентрикам сторон панель 3 зажимается подпружиненными подшипниковыми упорами 2.
Механизм подготовки совмещения - калибратор рис 10, предназначен для параллельного выравнивания поверхностей подложки и фотошаблона (удаления ˝клина˝) и установления между ними микрозазора. Эти операции необходимы для качественного выполнения совмещения и экспонирования. При уменьшении микрозазора и появление ˝клина˝ возрастает вероятность контакта фотошаблона с подложкой в отдельных зонах, что приводит к износу фотошаблона, и повреждению фоторезиста на подложке. Выравнивания поверхности подложки ведем не по всей поверхности, а лишь по периферийной части. Для этого между подложкой 7 и фотошаблоном 2 вводят калибратор 3, который имеет выступающую отбортовку по краям, выступающий край калибратора защищает рабочую часть фотошаблона и фоторезиста от повреждений. Затем запуская поочередно электродвигатели 9, добиваемся одинакового усилия давления каждого из поршней 8 на площадку 4, что означает полное прилегание подложки 7 к калибратору 3 и калибратора фотошаблону 2.
Рис. 10 Принципиальная схема калибратора установки OSTEC EVG620
Установка и снятие калибратора осуществляется кривошипно-шатунным механизмом 5 при помощи тяги 6. трех опорная система обеспечивает надежную фиксацию подложкодержателя, исключая его разворот.
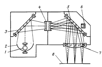
Блок экспонирования контактного типа рис 11 в качестве источника используется ртутно-кварцевая лампа 1, излучение которой рефлектором 2
Рис. 11 Принципиальная схема блок экспонирования установки OSTEC EVG620
направляется на зеркало 3 и далее в блок линзовых растров 4. Зеркало 5 направляет расходящиеся пучки излучения на конденсор 7, преобразующий его в параллельный (в пределах угла коллимации) поток актиничного излучения, который падает на фотошаблон 8. Фотоприемник 6 служит для контроля дозы экспонирующего излучения
Установка нанесения, проявления и снятия фоторезиста OSTEC EVG®101 представлена на рис. 12. Качество нанесения фоторезиста влияет на качество выходящего продукта в целом и является основополагающим. Одними из главных характеристик данной установки являются: защита от пыли рабочей зоны и точность соблюдения скорости вращения центрифуги. Схема установки OSTEC EVG®101 в общем виде представлена на рис. 13 a внешняя камера аппарата снабжена раструбами воздушной завесы 1, также для удаления пыли, которая может слететь с оператора, установлен раструб воздушной завесы 7. Что обеспечивает минимальное количество включений в сыром фоторезисте.
Рис. 13 Принципиальная схема установки нанесения и проявления фоторезиста OSTEC EVG®101
Для облегчения установки подложек из кассеты на подставку 6 установлен ручной вакуумный захват 2. После установки на подставку рис. 13-d подложка ориентируется под транспортер с при помощи упора 16 и двух роликов, 18 без привода и 17 с электроприводом. Затем рука 5 транспортера рис. 13-с, накрывает подложку вакуумным захватом 8 подключенного к шлангу вакуума 14. Вращаясь на шарнире 15, рука транспортера устанавливает подложку в центрифугу 3 на рабочий стол 9 рис. 13-b. После закрытия крышки 4 трубка подачи фоторезиста 11 поворачивается электроприводом 12 в рабочее положение (жиклером 10 над центром подложки). Центрифуга 3 подробно изображена на рис. 14.
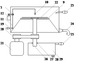
Рис. 14 Принципиальная схема центрифуги установки OSTEC EVG®101
Рабочий стол центрифуги 9 приводится в движение полым валом 26 по средствам электродвигателя 21 через ременную передачу 20. Электродвигатель постоянного тока обеспечивает резкий старт и точный контроль числа оборотов, что важно для хорошего распределения фоторезиста и соблюдения необходимой толщины. Подача вакуума идет через отстойник 29 и штуцер 25, герметичность обеспечивает сальник 27, пробка 28 позволяет сливать попавшие в отстойник жидкости из камеры центрифугирования. Подача фоторезиста на подложку 22 осуществляется через штуцер 19 по трубке 11 в жиклер 10. Обработка подложки едкими составами (проявитель и смыватель) осуществляется через форсунку 13 рис. 13-b подключаемую через штуцер 23. Также аппарат может использоваться для промывки составами низкой активности и сушки центрифугированием. Слив отработанных жидкостей осуществляется через дренажное отверстие 24 в камере центрифугирования 3.
