2-этажный 3-секционный 18-квартирный жилой дом в г. МирномРефераты >> Строительство >> 2-этажный 3-секционный 18-квартирный жилой дом в г. Мирном
Сечение 1
Рис. 3.3.
Таблица 3.3.
|
Наименование нагрузок |
эксцентриситет, е |
Предельное состояние | ||||
|
I |
Коэффициент надежности, γf |
II | ||||
|
NII, кН/м.п |
МII, кН/м.п. |
NI, кН/м.п |
МI, кН/м.п | |||
|
Постоянные нагрузки | ||||||
|
Собственный вес перекрытия 4*3*3.36 |
0 |
40.32 |
0 |
1.16 |
46.77 |
0 |
|
Собственный вес чердачного перекрытия 3*2.58 |
0 |
7.74 |
0 |
1.18 |
9.09 |
0 |
|
Собственный вес перегородок 4*0.6*3 |
0 |
7.20 |
0 |
1.20 |
8.64 |
0 |
|
Собственный вес покрытия 3*2.78 |
0 |
8.34 |
0 |
1.15 |
9.59 |
0 |
|
Собственный вес стеновых блоков 13*3 |
0 |
39.00 |
0 |
1.10 |
42.90 |
0 |
|
Собственный вес стены 15.0*9.04*0.81 |
0 |
109.84 |
0 |
1.15 |
126.31 |
0 |
|
Итого |
212.44 |
0 |
1.39 |
294.65 |
0 | |
|
Временные нагрузки | ||||||
|
Снеговая 1.5*3*0.95 |
0 |
4.28 |
0 |
1.4 |
5.99 |
0 |
|
Полезная нагрузка на перекрытие 1.5*0.91*4*0.95*3 |
0 |
15.56 |
0 |
1.4 |
21.79 |
0 |
|
Итого |
19.84 |
0 |
1.4 |
27.77 |
0 | |
|
Всего |
232.27 |
0 |
322.42 |
0 | ||
ΨА1 = 0,4 +
=1,43 ψn1 = 0.4 +
=0,91
Коэффициент остекленности Кост.=
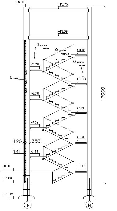
Сечение 2
Рис. 3.4.
Таблица 3.4.
|
Наименование нагрузок |
эксцентриситет, е |
Предельное состояние | ||||
|
I |
Коэффициент надежности, γf |
II | ||||
|
NII, кН/м.п |
МII, кН/м.п. |
NI, кН/м.п |
МI, кН/м.п | |||
|
Постоянные нагрузки | ||||||
|
Вес лестничного марша 9*2.74*1.5 |
0 |
36.99 |
0 |
1.10 |
40.69 |
0 |
|
Вес лестничной площадки 9*3.52*1.5 |
0 |
47.52 |
0 |
1.10 |
52.27 |
0 |
|
Собственный вес чердачного перекрытия 1.5*2.58 |
0 |
3.87 |
0 |
1.18 |
4.55 |
0 |
|
Собственный вес покрытия 1.5*2.78 |
0 |
4.17 |
0 |
1.15 |
4.80 |
0 |
|
Собственный вес стеновых блоков 13*3 |
0 |
39.00 |
0 |
1.10 |
42.90 |
0 |
|
Собственный вес стены 17.0*9.04*0.93 |
0 |
142.92 |
0 |
1.15 |
164.36 |
0 |
|
Итого |
274.47 |
0 |
1.10 |
301.92 |
0 | |
|
Временные нагрузки | ||||||
|
Снеговая 1.5*1.5*0.95 |
0 |
2.14 |
0 |
1.40 |
2.99 |
0 |
|
Полезная нагрузка на перекрытие 3*0.88*9*0.95*1.95 |
0 |
44.02 |
0 |
1.40 |
61.62 |
0 |
|
Итого |
46.15 |
0 |
1.40 |
64.61 |
0 | |
|
Всего |
320.63 |
0 |
366.53 |
0 | ||
