Компоновка сборного железобетонного перекрытияРефераты >> Строительство >> Компоновка сборного железобетонного перекрытия
Содержание
1. Компоновка сборного железобетонного перекрытия
2. Проектирование предварительно напряжённой плиты
2.1 Сбор нагрузок на перекрытие
2.2 Данные для расчёта
2.3 Нагрузки
2.4 Усилия от нормативной и расчётной нагрузки
2.5 Компоновка поперечного сечения панели
2.6 Расчёт полки на местный изгиб
2.7 Расчёт прочности сечений нормальных к продольной оси
2.8 Расчёт прочности по наклонным сечениям
2.9 Расчёт преднапряжённой плиты по предельным состояниям II группы
2.10 Расчёт по образованию трещин нормальных к продольной оси
2.11 Расчёт прогиба плиты
2.12 Расчёт плиты при монтаже
3. Проектирование неразрезного ригеля
3.1 Определение нагрузок
3.1.1 Вычисление изгибающих моментов в расчётной схеме
3.1.2 Перераспределение моментов под влиянием образования пластических шарниров
3.2 Расчёт прочности ригеля по сечениям нормальным к продольной оси
3.3 Расчёт прочности ригеля по сечениям наклонным к продольной оси
3.4 Построение эпюры материалов ригеля в крайнем и среднем пролёте
4. Расчёт прочности колонны
4.1 Сбор нагрузок на колонны
4.2 Определение расчётной продольной нагрузки на колонну
4.3 Определение изгибающих моментов колонны от расчётной нагрузки
4.4 Расчёт прочности колонны первого этажа
4.5 Расчёт консоли колонны
4.6 Расчёт стыка колонны
4.7 Расчёт стыка ригеля с колонной
5. Расчёт и конструирование отдельного железобетонного фундамента
6. Расчёт и конструирование монолитного перекрытия
6.1. Компоновка ребристого монолитного перекрытия
6.2 Расчёт многопролётной плиты монолитного перекрытия
6.2.1 Расчётный пролёт и нагрузки
6.2.2 Подбор сечений продольной арматуры
6.3. Расчёт многопролётной второстепенной балки
6.3.1 Расчётный пролёт и нагрузки
6.3.2 Расчётные усилия
6.3.3 Определение высоты балки
6.3.4 Расчёт прочности по сечениям нормальным к продольной оси
6.3.5 Расчёт прочности второстепенной балки по сечениям наклонным к продольной оси
1. Компоновка сборного железобетонного перекрытия
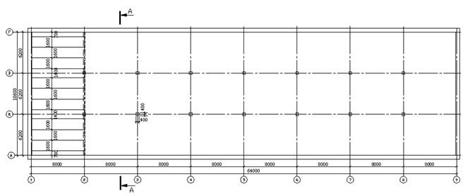
Административно - бытовое здание в г. Киров имеет размеры в осях: длина 64 м., ширина 18 м. Размеры конструктивной ячейки: 8 х 6,2 м.
Сечение А-А
Рис. Конструктивная схема здания
При компоновке сборного железобетонного балочного перекрытия решаются следующие задачи:
а) Выбор расположения ригелей в плане и форма их поперечного сечения.
В курсовом проекте выбрана схема поперечного расположения ригелей относительно длины здания. Так как здание вытянуто в плане и имеет большие проёмы в продольных несущих стенах необходимо повышать жёсткость здания в поперечном направлении, что достигается данным расположением ригелей. К тому же эта схема приводит к облегчению оконных перемычек, что необходимо в зданиях с большими проёмами.
Форма поперечного сечения выбрана прямоугольная.
б) Выбор типа плиты перекрытия.
По заданию нормативная полезная нагрузка на перекрытие составляет 7 кПа, следовательно экономически целесообразно применять ребристые железобетонные плиты с рёбрами вниз.
в) Определение числа типоразмеров плит перекрытий.
Плиты укладываются в продольном направлении. Была принята нулевая привязка продольных осей. Плиты перекрытия имеют следующие размеры:
Рядовые - ширина 1600 мм., длина 8000 мм.
Связевые - ширина 1400 мм., длина 8000 мм.
Доборная - ширина 700 мм., длина 8000 мм.
2. Проектирование предварительно напряжённой плиты
2.1 Сбор нагрузок на перекрытие
Рисунок Отдельный элемент пола
Таблица Нагрузка на 1м² междуэтажного перекрытия
|
№ п/п |
Наименование нагрузки |
Нормативная нагрузка. кН/м2 |
Коэф. надёжности по нагрузке γf |
Расчёт ная нагрузка. кН/м2 |
|
1 1. 2. 3. 4. 5. |
Постоянная Линолеум на мастике Стяжка из цементно - песчаного раствора δ=40 мм. Звукоизоляционный слой из ДВП δ=25 мм Сборная ж/б ребристая плита с заполнением швов раствором Перегородки |
0,06 0,72 0,07 0,3 0,5 |
1,1 1,3 1,2 1,1 1,3 |
0,07 0,94 0,08 3,3 0,65 |
|
4,35 |
- |
5,04 | ||
|
2 |
Временная длительная кратковременная |
7 5,5 1,5 |
1,2 1,2 1,2 |
8,4 6,6 1,8 |
|
Полная нагрузка в т. ч. постоянная и длительная кратковременная |
11,35 9,85 1,5 |
- |
13,44 11,64 1,8 |
2.2 Данные для расчёта
Назначаем основные геометрические размеры плиты. Высота сечения предварительно напряжённой ребристой плиты принимается в зависимости от длины пролёта плиты перекрытия: h= ℓە/20. Предварительно задаёмся размерами поперечного сечения ригеля.
h= (1/10~1/15) ℓ= 1/14*8000=571 мм ≈600 мм.
b= (0.3 ~ 0.4) h=0.3*600=180 мм. ≈200 мм.
Расчётный пролёт плиты при опирании по верху прямоугольного сечения ригеля определяется по формуле:
ℓە=ℓ−b/2 где - ℓە
- расчётный пролёт плиты при опирании по верху ригелей: ℓ - расстояние между разбивочными осями, b - ширина сечения ригеля
Рисунок - К определению расчётного пролёта плиты
Расчётный пролёт равен:
ℓە=ℓ−b/2=8000-200/2=7900 мм.
Высота плиты равна:
h=ℓە/20=7900/20=395 мм ≈ 400 мм.
Конструктивная ширина панели по низу принимается на 10 мм меньше номинальной, конструктивная длина панелей по верху ригеля принимается на 30 мм меньше номинальной.Материалы для ребристой плиты перекрытия:
класс бетона В 40.
арматура для предварительно напряжённой плита А IV.
Нормативное сопротивление бетона для расчёта по второй группе предельных состояний при сжатии Rbn=29,0 МПа, при растяжении Rbtn=2,10 МПа. Расчётное сопротивление бетона при расчёте по предельным состояниям первой группы при сжатии Rb=22,0 МПа, при растяжении Rbt= 1,40 МПа.
