Линия производства филе минтая мороженого
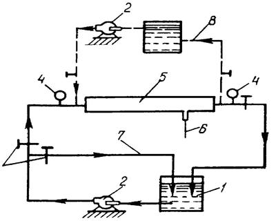
На рисунке 3.1. приведена ультрафильтрационная очистная установка.
![]() |
1- накопительная емкость;
2- центробежный насос;
3- вентиль;
4- манометр;
5- ультрафильтрационный модуль;
6- трубка для отвода фильтрата;
7- перепускная система;
8- система мойки
3.6. Заключение.
В проектируемой линии производства мороженого филе минтая получили следующие показатели:
1) производительность цеха – 25 т/сут.
2) Площадь цеха – 576 м2.
Данный цех можно с помощью небольшой модернизации переоборудовать для выпуска филе других видов рыбы, а также для выпуска мороженой рыбы.
3.7. ЛИТЕРАТУРА
1) Андрусенко П.И. «Технология рыбных продуктов» - М., Агропромиздат, 1989.
2) Беков В.П. «Технология рыбных продуктов» - М., Пищевая промышленность, 1971.
3) Воскресенский Н. А., Лагунов Л.Л. «Технология рыбных продуктов», - М., Пищевая промышленность, 1968.
4) Гинзбург А.С. «Теплотехнические характеристики пищевых продуктов», - М., Агропромиздат, 1990.
5) ГОСТ 13-615 «Ящики из гофрированного картона».
6) ГОСТ 13-830 «Соль поваренная пищевая».
7) ГОСТ 32-82 «Проволока стальная низкоуглеродистая».
8) ГОСТ 39-48 «Филе рыбное мороженое».
9) ГОСТ Р51-074 «Продукты пищевые. Информация для потребителя. Общие требования».
10) ГОСТ Р51-232 «Вода питьевая».
11) ГОСТ 60-34 «Декстрин».
12) ГОСТ 76-31 «Рыба. Правила приемки, органолептический метод. оценки качества, методы отбора проб».
13) Дегтярев В.Н. «Сборник методических указаний, лабораторных работ по технологическому оборудованию рыбообрабатывающих производств», - г. Петропавловск-Камчатский, ПКВМУ, 1991.
14) Дикис М.Я., Мальский А.Н. «Технологическое оборудование пищевая промышленность», - М., Пищевая промышленность, 1969.
15) Кизеветтер И.В. «Биохимия сырья водного происхождения», - М., Пищевая промышленность, 1973.
16) Кизеветтер И.В. «Технологическая и химическая характеристика промысловых рыб тихоокеанского бассейна», - Владивосток, Дальиздат, 1971.
17) Новиков В.М. «Технология рыбных продуктов и технологическое оборудование рыбообрабатывающих предприятий», - М., Пищевая промышленность, 1980.
18) Н-75 (Нормы расхода тары упаковочных и оберточных материалов при производстве пищевой рыбопродукции на предприятиях Дальрыбы).
19) Осипов Н.И. «Оборудование рыбообрабатывающих предприятий», - М., Пищевая промышленность, 1980.
20) ОСТ 15-930 «Полимерные пакеты».
21) «Правила по технике безопасности и производственной санитарии», - М., Пищевая промышленность, 1968.
22) Романов А.А. и др. «Справочник по технологическому оборудованию рыбообрабатывающего производства» Т 1.2, - М., Пищевая промышленность, 1979.
23) «Санитарные правила для рыбообрабатывающих предприятий», - М., Минздрав СССР, 1971.
24) «Сборник технологических инструкций по обработке рыбы», в 2-х частях, - М., Пищевая промышленность, 1982.
25) «Справочник технолога рыбной промышленности» под редакцией Новикова, - М., Пищевая промышленность, 1971.
26) Кизеветтер И.В. 2-е изд. «Технология обработки водного сырья», - М., Пищевая промышленность, 1976.
27) ТУ 15-01 393 «Этикетки и ярлыки бумажные».
28) ТУ 15-01 440 «Минтай-сырец».
29) Чепрасов Н.Н. «Оборудование предприятий и судов рыбной промышленности и его эксплуатация», - М., Пищевая промышленность, 1980.
30) Чупахин В.М. «Технологическое оборудование рыбообрабатывающих предприятий», - М., Пищевая промышленность, 1976

