Сварочные работы в строительствеРефераты >> Технология >> Сварочные работы в строительстве
Участок синеломкости 6 нагревается до температур 500-200°С. Он характеризуется снижением пластических свойств без видимых изменений структуры. Явление синеломкости объясняют выделением из твердого раствора
субмикроскопических частиц различных примесей, располагающихся по границам зерен. Резких границ между участками зоны термического влияния не существует. Протяженность отдельных участков, а значит и зоны термического влияния, имеет большое значение для оценки качества сварного соединения. Чем меньше эта зона, тем выше качество соединения.
3.4. Шлаковые и газовые включения в сварных швах
Состав шлаковых включений зависит в основном от применяемых электродов и флюсов. При сварке сталей включения возникают от застревания частиц кварца SiO2 и корунда Al2O3, присутствующих в покрытиях и флюсах. Эти включения, взаимодействуя с окислами (MnO, FeO и др.), образуют и более сложные легкоплавкие включения диаметром от нескольких микрон до десятков микрон. Шлаковые включения имеют следующий характер (рис.3.8). При сварке в металле возникает в довольно большом количестве серные включения в виде сульфида железа FeS, повышающего склонность металла шва к появлению трещин при высоких температурах.
Одной из форм неметаллических включений в металле шва являются нитриды, в основном нитриды железа, обладающие высокой твердостью и снижающие пластические свойства метала шва.
|
|
|
Рис.3.8. Характер шлаковых включений. |
Величина и количество шлаковых включений зависят от скорости всплытия частиц, их способности к коагуляции (укрупнение частиц под действием молекулярных сил сцепления), их вязкости, плотности и от механического воздействия на жидкий металл.
Посторонние включения в металле отрицательно влияют на свойства металла, делая его неоднородным, способствуют коррозии.
Для предупреждения появления шлака в наплавленном металле принимают такие меры :
-удаление загрязнений, ржавчины, окалины с кромок свариваемых деталей;
-промежуточную зачистку швов от шлака при многослойной сварке;
- замедление остывания металла (режим сварки, шлак), введение в состав покрытий и флюсов веществ, понижающих температуру плавления шлаков и позволяющих образовывать легко удаляемые из металла соединения.
Появление в сварных соединениях пустот и газовой пористости – результат выделения газов из металла.
Газовые поры возникают как в металле шва, так и в зоне взаимной кристаллизации, они имеют различную форму - шарообразную, вытянутую, скопление большого числа разнообразных пор (рис. 3.9). Газы в наплавленном металле могут быть в следующих состояниях: механически включенные (поры и пузыри), в растворе в виде химических соединений (FeO, Fe4N и др.), непосредственно растворенные (H2, CO2 и др.).
|
|
|
Рис.3.9. Внутренние и наружные поры (свищи) при сварке |
Главные причины образования пор в металле шва:
- интенсивное выделение газов при кристаллизации металла шва;
-наличие влаги в присадочных материалах и окислов на кромках деталей;
-недостаточная раскисленность;
-относительно высокая концентрация закиси FeO в металле шва (FeO + С = Fe + СО); СО – пузыри;
-наличие в стали значительного количества водорода;
-наличие повышенного давления над поверхностью ванны (уменьшается скорость всплытия пузырей).
Газовые поры и пузыри понижают механические свойства металла шва, создают концентрацию напряжений, повышая склонность к хрупким разрушениям. Более вредными являются крупные поры. Остающиеся в металле газы повышают его хрупкость, твердость и понижают пластичность.
3.5. Трещины при сварке и их классификация
В зависимости от температурного интервала возникновения различают трещины горячие (кристаллизационные) и холодные (внутрикристаллические).
Горячие или кристаллизационные трещины это такие, которые появляются в металле на завершающей стадии кристаллизации в интервале температур 1200-1000°С. При остывании и затвердевании шва в процессе первичной кристаллизации между кристаллами остаются жидкие или полужидкие обогащенные растворенными элементами прослойки с температурой плавления ниже, чем у основного металла. При существовании таких прослоек в момент появления растягивающих напряжений, вызванных неравномерностью нагрева и остывания при сварке, в шве образуются горящие трещины. Они проходят по этим малопрочным прослойкам между кристаллами.
Горячие трещины могут появляться и в околошовной зоне, где при действии высокой температуры по границам растущих зерен выделяются легкоплавкие составляющие и вредные примеси.
Образование горячих трещин зависит от химсостава металла шва, термического цикла сварки, вида соединения и жесткости конструкции, направленности кристаллизации и др. Склонность наплавленного металла к образованию трещин увеличивают сера (FeS; MnS + FeS), углерод, кремний, водород и т.д.
Существует несколько способов определения стойкости стали против образования горячих трещин. Один из способов, применяемый для всех способов дуговой сварки при толщине металла от 8 до 60 мм, состоит в следующем.
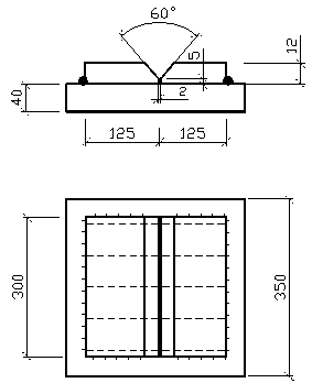
Для пробы (испытания) изготовляют образец из двух пластин (рис. 3.10), привариваемых по контуру к плите, и имеющих разделку кромок под сварку контрольного стыкового шва. Заваренный контрольный стыковой шов после остывания осматривают через лупу с целью выявления наружных трещин. После этого удаляют закрепляющие швы и образец разрезают на 4 темплета b =70 мм (при сварке под флюсом) и b = 45 мм - при ручной сварке. Темплеты разрушают по контрольному шву путем изгиба или растяжения и изучают излом на предмет наличия трещин. По наличию или отсутствию трещин дают качественную оценку склонности металла шва к образованию трещин.
|
|
|
Рис. 3.10. Образец для определения стойкости металла шва против образования горячих трещин. |
Несколько видоизмененной конструкции подготавливают и исследуют образцы для определения склонности к образованию трещин углового шва или околошовной зоны.
Для качественной и количественной оценки показателя стойкости металла шва против образования горячих трещин применяется методика, разработанная в МВТУ им. Баумана. В канавку закрепленного с помощью концевых отверстий в губках разрывной машины образца наплавляют валик. Когда дуга пройдет среднее сечение, где имеются концентраторы-отверстия Ø 7 мм, начинается растяжение образца со скоростью А. Наличие концентраторов деформаций вызывает также поперечное растяжение металла шва, приближая условия деформации к реально возникающим при сварке (рис. 3.11.).
