Сварочные работы в строительствеРефераты >> Технология >> Сварочные работы в строительстве
Шовная сварка. В принципе осуществляется так же как точечная, обеспечивая плотно-прочные герметические швы. Это достигается последовательной постановкой ряда точек с частичным перекрытием последующей точкой предыдущей. Электроды выполнены в виде роликов, которые при вращении протаскивают свариваемые элементы между собой, а периодическое включение тока приводит к последовательной сварке точек.
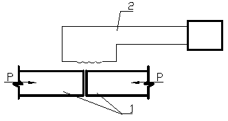
е) Индукционная сварка. В этом случае металл до сварочной температуры нагревается токами высокой частоты с помощью специального индуктора, имеющего форму, соответствующую форме нагреваемой детали. С помощью индукционного нагрева металл нагревают до расплавления и осуществляют плавлением, но практически требуется приложить осадочное давление, когда достигнута температура сварочного жара (рис.1.7).
|
|
|
Рис. 1.7. Индукционная сварка: |
|
1 – свариваемые детали; 2 – индуктор |
ж) Диффузионная сварка в вакууме. Применяется для сварки химически активных металлов. Для защиты от воздействия O2; N2 воздуха применяют вакуумные камеры с вакуумом 10-3-10-5мм рт.ст. После достижения такого вакуума осуществляют индукционный нагрев и дают осадочное давление.
з) Термитная сварка. Термитами называют порошкообразные или зернистые смеси, состоящие из металла с большой теплотой образования окисла (Al, Mg) и окисла металла с меньшей теплотой образования (Fe, Cu - окислы). Наиболее известный термит – Al и железная окалина Fe3O4.
При сгорании смесь дает восстановленное железо и окись алюминия, нагреваясь до Т =3000°С, с выделением большого количества тепла.
3Fe3O4+8Al=4Al2O3+9Fe+Q.
1кг смеси дает при сгорании 750 ккал тепла. Изделие, которое нужно сварить, заформовывают и нагревают до начала красного каления с одновременной прокалкой формы. Термитную смесь сжигают в тигле, и после отстойки расплав разделяется на два слоя: нижний - жидкое железо, верхний - жидкий шлак, в основном из Al2O3. Этим расплавом заливают заформованное изделие, расплавляя кромки изделий, сплавляя их с металлом из тигля (сварка плавлением) или же только разогревая их кромки до сварочного жара и производит сварку путем сдавливания разогретых частей (сварка давлением). В тигель иногда добавляют присадки: например, ферромарганец. Таким способом сваривают рельсы, стальные трубы, чугунные детали.
1.3.2. Сварка плавлением
Включает следующие способы: газовая сварка, дуговая, электрошлаковая, электронно-лучевая и др.
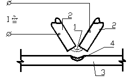
1) Газовая сварка плавлением. При этом способе источником тепла является высокотемпературное пламя горючих газов, из которых наибольшую температуру дает (свыше 3000°С) ацетилено-кислородное пламя (рис. 1.8, а).
При местном нагреве сосредоточенным пламенем кромки двух деталей могут быть расплавлены, образуя ванну. При движении пламени вдоль стыка металл под ним будет расплавляться, а позади пламени (вследствие охлаждения) затвердевать, образуя сварной шов между деталями. При соответствующем режиме можно получить необходимое проплавление металла и рабочее сечение шва. Для обеспечения равнопрочности соединения требуется сквозное проплавление металла, поэтому при большой толщине листов кромки обрабатывают под сварку, а объем разделки заполняют расплавленным присадочным материалом в виде прутка, подаваемого при сварке в пламя и расплавляющегося вместе с основным металлом.
|
а) |
б) | |
|
|
| |
|
Рис. 1.8. Сварное соединение: | ||
|
а – газовая; б – дуговая; 1 – свариваемое изделие; 2 – присадочный металл; 3 – сварочная горелка; 4 – электрод; 5 – жидкий металл; 6 – наплавленный металл | ||
2) Электрическая дуговая сварка. При дуговой сварке нагрев металла осуществляется сварочной дугой. При устойчивом длительном протекании тока через ионизированный газовый промежуток между двумя электродами, подсоединенными к источнику питания, выделяется тепловая и световая энергия (рис.1.8.б).
Температура, развиваемая дугой очень высока (6000-30000°С) и значительно превышает температуру плавления различных конструкционных материалов. Дуговой разряд для сварки металлов применяют при различных формах его использования.
Сварка независимой дугой. Осуществляется нагревом металла дугой, горящей между 2-мя или 3-мя неплавящимися электродами, подключенным к разным полюсам источника. Изделие в электрическую цепь не включено, и дуга горит независимо от свариваемого изделия. Нагретые газы столба дуги контактируют с поверхностью металла, нагревают и расплавляют его. Дуга воздействует на изделие аналогично газосварочному пламени, а сама операция сварки производится так же. Сварку ведут как без присадок, так и с добавлением присадки, подаваемой в дугу в виде прутка (рис. 1.9).
|
| |
|
Рис. 1.9. Сварка независимой дугой: | |
|
1 – сварочная дуга; 2 – электрод; 3 –свариваемое изделие; 4 – жидкий металл | |
Сварка неплавящимся электродом выполняется, когда свариваемое изделие включено в цепь дуги и является одним из его полюсов, а вторым полюсом является неплавящийся (угольный, графитовый или вольфрамовый) электрод. За счет тепла дуги изделие, а также присадочный металл, расплавляются. Эффективность сварки таким способом значительно выше предыдущего способа. Способ имеет довольно широкое применение.
Сварка плавящимся электродом. (Прямое действие дуги). Этот способ наиболее эффективен и имеет высокий к.п.д. Дуга питается как постоянным, так и переменным током. Чаще к электроду присоединяют отрицательный полюс источника тока, к изделию – положительный (это прямая или нормальная полярность). Присоединение плюса к электроду дает обратную полярность. Выполняется сварка плавящимся электродом по такой же схеме, как и при неплавящемся электроде. Металлический электрод является одновременно источником присадочного металла. Сварка плавящимся электродом может выполняться (см. рис.1.10):
а) открытой дугой, когда металл в области действия дуги не защищен от воздействия воздуха или защищается от его воздействия специальными веществами (газо- и шлакообразующими), вносимыми с электродом в виде покрытия.
