Сварочные работы в строительствеРефераты >> Технология >> Сварочные работы в строительстве
Перенос капель жидкого электродного металла на свариваемый металл происходит под действием многих факторов - сил тяжести и поверхностного натяжения, газового дутья и внутреннего давления, электродинамических сил.
Сила тяжести может содействовать или препятствовать переносу капель через дугу, в зависимости от пространственного положения шва при сварке.
Сила поверхностного натяжения стремится придать капле форму с наименьшей поверхностью, в которой она находится до слияния с общей ванной.
Газовое дутье создается за счет частичного превращения электродного металла в пары под действием высокой температуры дуги и за счет давления газов при сгорании покрытия электродов. Газовое дутье направлено по оси электрода и способствует слиянию капли с общей ванной.
Внутреннее газовое давление в каплях металла создается за счет собственных выделенных и поглощенных металлом газов в зоне дуги. С повышением температуры внутреннее давление газов увеличивается, способствуя переносу капли при любом положении шва в пространстве, увеличивается разбрызгивание.
Электродинамические силы имеют наибольшее значение в переносе капель с электрода на изделие. При напряженности электрического поля электрода большей, чем основного металла возникает продольная сила, действующая от электрода к изделию. Сжимая жидкий металл у торца электрода, она способствует отделению и переносу капель в сварочную ванну.
Струйный перенос имеет преимущество перед капельным – меньше выгорают легирующие добавки, повышается чистота металла капель и шва, увеличивается скорость расплавления сварочной проволоки.
Производительность наплавки или производительность переноса электродного металла в шов определяется по формуле:
где
– коэффициент наплавки, в г/А×ч;
I – сила сварочного тока, А.
3. Металлургические процессы при дуговой сварке
3.1 Условия плавления металла и существования его в жидком виде
Сварка плавлением представляет собой комплекс металлургических и физико-химических процессов, протекающих в следующих характерных условиях:
1) при высокой температуре; 2) в небольшом объеме расплавленного металла; 3) в течение короткого времени; 4) при быстром отводе тепла ввиду наличия близлежащего холодного металла; 5) при участии двух разных металлов; б) при интенсивном воздействии окружающих газов и шлака.
В результате сосредоточенного воздействия тепла сварочной дуги плавится основной и электродный металл вместе с покрытием или флюсом. Расплавленный металл электрода переходит в виде капель различной величины к расплавленному участку основного металла, смешивается с ним, образуя сварочную ванну.
Сварочные ванны различают двух типов:
1) сварочная ванна, образующаяся при естественном охлаждении и формировании шва;
2) сварочная ванна, образующаяся при использовании искусственного охлаждения и принудительного формирования шва.
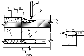
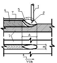
Сварочная ванна первого типа для ручной и автоматической сварки под флюсом представляет собой следующее (рис.3.1).
При сварке под флюсом расплавленный шлак образует полость-пузырь, охватывающий зону сварки.
Стенки ванны образованы оплавленным основным металлом. Расплавленный металл в ванне в начальный период ее существования частично оттеснен к ее задней стенке, вследствие чего образуется кратер. По мере удаления источника тепла кратер заполняется жидким металлом.
В процессе сварки сварочная ванна перемещается в направлении сварки с определенной скоростью – Vсв, м/с.
Время, в течение которого сварочная ванна переместится вдоль шва на расстояние А, т.е. на длину ванны, называют временем существования ванны.
Это время при автоматической сварке стали толщиной t =5-30 мм колеблется в пределах 5-40 сек, при ручной сварке оно меньше.
| ||||
|
Рис. 3.1. Сварочная ванна первого типа: а – ручная дуговая сварка; б – сварка под флюсом; 1 – электрод; 2 – дуга; 3 – основной металл; 4 – направление сварки; 5 – жидкий металл; 6 – металл шва; 7 – шлаковая корка |
Ванна расплавленного металла занимает малый объем. Длина ванны А при ручной сварке 20-30 мм, при автоматической – 80-120мм, ширина В, соответственно, 8-12 мм и 20-30 мм; глубина Н – 2-3 и 5-20 мм.
Температура расплавленного жидкого металла в сварочной ванне не везде одинакова: на периферийных участках она близка к температуре плавления, а на участках, находящихся под непосредственным воздействием дуги, значительно выше.
При автоматической сварке малоуглеродистой стали средняя температура ванны около 1800°С, максимальная температура переднего участка 2300°, заднего участка 1530°С.
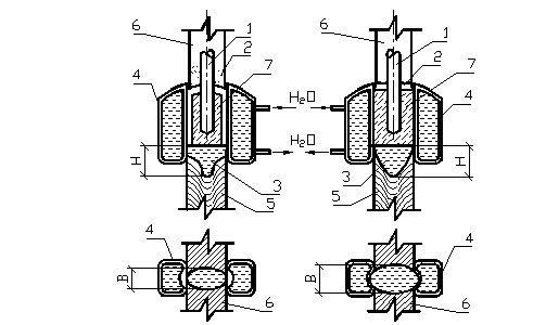
Сварочная ванна второго типа образуется при электрошлаковой сварке и при вертикальной дуговой сварке под флюсом с принудительным формированием шва (рис.3.2).
Такая ванна заключена между свариваемыми кромками основного металла и охлаждающими стенками формирующих внешних ползунов. Здесь верхняя часть ванны все время находится в жидком состоянии в процессе перемещения, что создает наиболее благоприятные условия для удаления из металла шлаковых включений и газов. Параметры ванны – глубина Н и ширина В.
Металл сварного шва претерпевает значительные температурные воздействия: нагрев, плавление, затвердевание и остывание. Нагреву и остыванию подвергается также и околошовная зона основного металла.
|
а) |
б) |
|
| |
|
Рис. 3.2. Сварочная ванна второго типа: а – автоматическая сварка под флюсом в вертикальном положении; б – электрошлаковая сварка; 1 – электрод; 2 – флюс; 3 – жидкий металл; 4 – охлаждающие формирующие ползуны; 5 – наплавленный металл (сварной шов); 6 – основной металл; 7 – жидкий шлак | |
Изменение температуры во время сварки в данной точке сварного шва или околошовной зоны называется термическим циклом.
Термический цикл зависит от принятого способа сварки и режима сварки. Путем регулировки времени нагрева и остывания и при правильном подборе режима сварки можно повлиять на формирование структуры шва и околошовной зоны, получая требуемое качество сварки.
