Химические методы определения сахаров
Методика выполнения анализа: При анализе пробу сусла отбирают из сусловарочного аппарата перед перекачкой его на охлаждение, освобождают от дробины фильтрованием через сетку, охлаждают до 20 град С, и наливают в стеклянный цилиндр, диаметр которого больше диаметра сахарометра в 2-3 раза. Цилиндр ставят на поддон и плавно погружают сахарометр в сусло. Сахарометр должен быть предварительно очищен и высушен. При погружении сахарометра избыток сусла вытекает из цилиндра в поддон. Отсчет концетрации экстрактивных веществ по шкале сахарометра производят через 2-3 мин (необходимо для выравнивания температуры сусла и сахарометра) по верхнему мениску при положении глаза на уровне сусла в цилиндре.
Поляриметрический метод
Основан на измерении угла вращения плоскости поляризации луча света 1, прошедшего через оптически активную среду. В зависимости от направления вращения плоскости поляризации луча света бывают право- и левовращающие соединения и среды. Например, сахароза относится к правовращающим веществам ([a]D= + 66,50), а инвертный сахар — к левовращающим ([a]D= - 39,50).
В сахарной и крахмалопаточной промышленности наибольшее распространение получили специальные поляриметры-сахариметры. Пользуясь сахариметром, можно определить содержание сахарозы в сахаросодержащих продуктах в процентах.
Материалы и реактивы.Вода дистиллированная, навеска исследуемого продукта, фильтры, химический стакан, сахариметр.
Ход работы. Перед началом работы необходимо проверить нулевое положение прибора. Для этого вращают рукоятку кремальерной передачи и добиваются однородного поля зрения в обеих его половинах.
Взвешивают нормальную навеску продукта — 26,023 г — готовят раствор в мерной колбе вместимостью 100 см3, доводят дистиллированной водой температурой 20 °С до метки. В чисто вымытую и высушенную или сполоснутую исследуемым раствором трубку через воронку заливают исследуемый раствор температурой 20 °С так, чтобы верхний мениск его выступал над краями трубки. Выдерживают некоторое время, чтобы все содержащиеся в растворе пузырьки воздуха поднялись вверх. Подъем пузырьков можно ускорить, если слегка ударять пальцами по стенке трубки. Затем закрывают трубку покровным стеклом, надвигая его на торец трубки, как бы срезая раствор. Навинчивают гайку, следя за тем, чтобы под стеклом не остался воздушный пузырек. Тщательно протерев снаружи покровные стекла, помещают трубку в камеру прибора между поляризатором и анализатором. Устанавливают освещенность обеих половин поля зрения точно так же, как и при проверке нулевой точки. Затем производят отсчет показаний с необходимой точностью как по основной шкале, так и при помощи нониуса. Прежде чем зафиксировать результат, необходимо проверить, соответствует ли найденное положение компенсатора искомому: нужно едва заметным движением повернуть рукоятку сначала в одну сторону, а затем в другую. При этом происходит перемещение затемненной половины поля зрения с одной стороны на другую. Снова устанавливают одинаковую освещенность и фиксируют результат (отсчет производят не менее трех раз, каждый раз возвращая рукоятку в нулевое положение, и рассчитывают среднее арифметическое трех показаний). Устанавливают, какое деление нониуса точно совпадает с любым из делений основной шкалы.
Это будет α.
Известно, что оптическая активность веществ характеризуется углом удельного вращения
(D – желтая линия натрия с длиной волны 588 нм) – устойчивой величиной угла вращения плоскости поляризации света (зависящей от длины волны света и температуры) раствором вещества при его концентрации С, которая равняется 1 г вещества в 1 мл раствора, при толщине слоя l дм [для данного опыта искомое есть С, значение которого затем возводят в проценты]:
Градусы линейной шкалы сахариметра можно перевести в градусы круговой шкалы поляриметра при помощи следующих соотношений: градус круговой шкалы поляриметра соответствует 2,883° линейной шкалы сахариметра. Либо наоборот: градус линейной шкалы сахариметра равен 0,3468° круговой шкалы поляриметра.
Приборы и устройства для физико-химического определения сахаров прямо на поточных линиях
За последние годы получило развитие специальное приборостроение для пищевой промышленности. В связи с тем, что среды пищевой промышленности, а также производственные помещения, оборудование, технологические процессы обладают определенными специфическими свойствами — взрывоопасностью, вязкостью, налипанием, абразивностью и т. п. — необходимо, чтобы применяемые приборы и средства автоматизации своими характеристиками удовлетворяли перечисленным условиям.
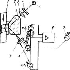
Автоматические рефрактометры широко применяются в различных отраслях пищевой промышленности (сахарной, спиртовой, консервной, кондитерской, винодельческой) — как и обыкновенные — для определения концентрации растворенных в жидкостях веществ. Принцип действия этих приборов основан на использовании зависимости показателя преломления бинарной смеси от соотношения ее компонентов. Существует несколько методов определения показателя преломления, из которых наиболее приемлемым считается спектрометрический, основанный на использовании полного внутреннего отражения. Рефрактометры полного внутреннего отражения могут применяться для работы с непрозрачными жидкостями, что является очень важным при контроле многих технологических сред пищевых производств. Ниже показана принципиальная схема рефрактометра типа РДА:
Он основан на использовании полного внутреннего отражения. В трубопроводе 1, по которому протекает анализируемая жидкость, установлена измерительная призма 2, на которую поступает поток света от источника 5, проходящий предварительно светофильтр 4 и коллиматор 3. Световой поток, попадая на границу раздела среды и призмы, отражается от нее и идет в направлении оптического рассеивателя 9, пройдя который, поступает на фотоэлемент ФЭ, и зеркало 8. Поток, отраженный от зеркала, попадает на фотоэлемент ФЭ2. Сигнал разбаланса, равный разности ЭДС от фотоэлементов, усиливается электронным усилителем 6 и поступает на реверсивный двигатель 7, с осью которого связано отсчетное устройство, не показанное по схеме. Двигатель 7 поворачивает зеркало 8 до тех пор, пока свет, направляемый на фотоэлемент ФЭ2, не уравновесит световой поток, падающий на ФЭ и тем самым не приведет систему в равновесие.
Основная погрешность измерения ±0,5-1,5 % сухих веществ.
Автоматические поляриметры. Ниже показана схема автоматического поляриметра для непрерывного анализа пищевых сред:
