Разработка технологического процесса упрочнения кулачка главного вала с использованием лазерного излученияРефераты >> Металлургия >> Разработка технологического процесса упрочнения кулачка главного вала с использованием лазерного излучения
6.3. Мероприятия по предотвращению несчастны случаев, обеспечению безопасности эксплуатируемого оборудования и транспортных средств
Для обеспечения безопасности эксплуатируемого оборудования и предотвращения несчастных случаев от опасностей на проектируемом производственном помещении будет соблюдать следующие размеры: минимальная площадь помещения на одного рабочего - 4,5 м2; минимальный объем на одного рабочего-16 м3, расстояние между станками по фронту - не менее 900 мм, между тыльными сторонами - не менее 800 мм; между станками, расположенными поперечно к проезду 1500 мм, от стен и колонн зданий до тыльной или боковой стороны станка - 800 мм и до фронта станка - не менее 1500 мм; пешеходный туннель, эстакада - 1,5 х. 2,1 м; транспортный и коммуникационный туннель, галерея, эстакада - 0,8 х. 1,8 м.
Основными техническими средствами охраны труда являются защитные устройства. Они стандартизированы ГОСТ 12.4.125 - 83.
Для предотвращения захвата, удара рабочими механизмами все виды передач указанных выше станков будут иметь оградительные устройства - кожухи, щиты, экраны, козырьки, планки, барьеры (сплошные и сетчатые). Кроме того будут применены: блокировочные устройства (механические, электронные, электрические, пневматические, гидравлические), устройства, к которым относятся системы защиты от поражения электрическим током, устройства сигнализации. Эти устройства окрашиваются в специальные отличительные цвета, описанные ранее.
Проектируемое производственное помещение, согласно ГОСТ 12.1.019-79, относится к классу помещений с повышенной электроопасностью.
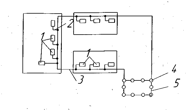
Безопасность эксплуатации при нормальном режиме работы электроустановок будет обеспечена следующими защитными мерами: подключение к системе электроснабжения с изолированной нейтралью трансформатора, выносное защитное заземление (рисунок 6.1.)
|
|
Рис. 6.1. Принципиальная схема выносного заземления
1. Заземленное оборудование
2. Заземляющие проводники
3. Магистрали
4. Заземлители (стальные уголки, трубы, швеллера и т.п., забитые в землю)
5. Полоса связи
Пожары и взрывы на предприятиях представляют большую опасность и остаются важной причиной несчастных случаев на производстве, причиняя огромный материальный ущерб.
Производственное здание проектируемого участка будет иметь 1 класс огнестойкости и категорию Д по пожаровзрывоопасности. Это определит ассортимент противопожарных средств: пожарные краны и рукава, огнетушители (пенные ОП-10 и углекислотные ОУ-5). Огнетушители будут расположены на видных местах в пределах производственного помещения.
При обнаружении нагрева трущихся деталей, появлении гари или дыма станок нужно немедленно остановить и приступить к тушению пожара имеющимися средствами, вызвать пожарную команду. Загоревшийся двигатель или электропроводку необходимо тушить сухим песком или огнетушителем (углекислотным или порошковым). При значительном распространении пожара, когда его нельзя ликвидировать имеющимися на участке средствами, рабочие будут эвакуироваться через заранее предусмотренное необходимое количество дверей.
Расчёт вероятностей появления наиболее характерных несчастных случаев на производстве
Рис. 6.2. Дерево происшествия
Таблица 6.6. Обозначение событий и их вероятности
| Обозначение | Событие | Вероятность | |
| А1 | Станок работает | 0,8 | |
| А2 | Ошибка оператора | 0,003 | |
| А3 | Посторонний находится вблизи станка | 0,15 | |
| А4 | Ремонт оборудования | 0,25 | |
| А5 | Случайное прикосновение к корпусу | 0,03 | |
| А6 | Пробой фазы | 0,025 | |
| А7 | Токопроводящие полы | 0,5 | |
| А8 | Появление нагретых поверхностей | 0,0015 | |
| А9 | Искрение электропроводки | 0,025 | |
| Б1 | Разрушение оборудования | 0,0001 | |
| Б2 | Отказ пожаровзрывозащиты | 0,00005 | |
| Б3 | Перегружение оборудования | 0,0024 | |
| Б4 | Попадание частей тела в зону резания | 0,12 | |
| Б5 | Попадание частей тела в механизмы станка | 0,0375 | |
| Б6 | Наличие потенциала на корпусе | 0,00075 | |
| Б7 | Наличие потенциала на долу | 0,0125 | |
| Б8 | Появление открытого пламени | 0,0265 | |
| В1 | Производственная травма механического характера | 0,1551 | |
| В2 | Поражение электрическим током | 0,01324 | |
| В3 | Возникновение пожара | 0,000001325 | |
| Г1 | Несчастный случай | 0,1663 |
