Бурение и оборудование скважин при подземном выщелачивании полезных ископаемых
Порядок цементирования с помощью предлагаемого устройства включает следующие этапы:
1) спуск БТ и соединение с устройством;
2) промывку затрубного пространства обсадной колонны облегченным глинистым раствором;
3) подачу тампонажного раствора в затрубное пространство скважины через заливочные трубки;
4) промывку внутренней полости обсадной колонны;
5) ОЗЦ и контроль качества цементации;
6) извлечение цементировочного узла и проведение работ по освоению скважины.
Предложенное устройство позволяет полностью исключить попадание цементного раствора в прифильтровую зону скважины и осуществить цементирование затрубного пространства обсадных колонн из неметаллических материалов (полиэтилен, полипропилен, стеклопластик) при небольших затратах времени и расходе тампонажных материалов.
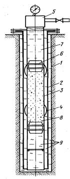
Цементирование неметаллических обсадных колонн можно производить по схеме с одной или двумя разделительными пробками. Для этого с целью предохранения обсадной колонны от разрушения при движении пробок применяют дополнительную защитную металлическую колонну, опущенную внутрь цементируемой колонны (рис. 14). Верх обеих колонн герметизируют, а пространство между ними заполняют глинистым раствором. Закачка цементного раствора производится только через внутреннюю защитную колонну. Тампонажный раствор с помощью продавочной жидкости вытесняется за неметаллическую колонну. После ОЗЦ цементный стакан и разделительные пробки разбуривают, а защитную металлическую колонну извлекают из скважины. В дальнейшем осуществляют вскрытие продуктивного горизонта и оборудование скважины фильтровой колонной.
Рис. 14. Схема цементирования неметаллических колонн с применением разделительных пробок:
1 – ствол скважины; 2 – обсадная неметаллическая колонна; 3 – защитная металлическая колонна;
4 – центратор; 5 – цементировочная головка; 6 – разделительные пробки; 7 – продавочная жидкость;
8 – цементный раствор; 9 – глинистый раствор
Выбор зоны цементирования обсадных и эксплуатационных колонн определяется с учетом материала труб, глубины и конструкции скважин, их назначения, устойчивости пород приствольной зоны.
В практике сооружения геотехнологических скважин применяется полная и частичная цементация. При полном цементировании пространство за эксплуатационной (обсадной) колонной заполняется цементным (тампонажным) раствором от фильтра или башмака обсадной колонны до устья скважины.
Полная цементация затрубного пространства применяется, когда геологический разрез месторождения сложен неустойчивыми и перемежающимися породами при сооружении нагнетательных скважин.
В откачных и наблюдательных скважинах ПВ обязательным является цементирование интервалов от фильтра до пьезометрического уровня подземных вод, а также зон ниже фильтра в случае вскрытия данной скважиной нижележащих водоносных горизонтов.
В остальных случаях при сооружении откачных и наблюдательных скважин ПВ высота цементной оболочки при частичном цементировании определяется мощностью неустойчивых пластов или интервалом скважины, при котором обеспечивается надежная гидроизоляция продуктивного горизонта.
6.3 Технические средства для цементирования скважин
Для приготовления тампонажных растворов и паст для гидроизоляции применяются цементно-смесительные машины и агрегаты. В качестве монтажной и транспортной базы цементно-смесительных машин и агрегатов используются платформы автомобилей типа КрАЗ, ЗИЛ-131, полуприцепы, металлические передвижные основания. Используются механические, гидравлические и пневматические способы приготовления растворов, а также комбинации этих способов.
Для закачки и продавки тампонажных растворов и паст применяются специальные цементировочные агрегаты. В качестве монтажных и транспортных баз цементировочных агрегатов используются платформы автомобилей и передвижные металлические сани.
На платформе монтируются буровые насосы с приводом, водоподающие насосы для подачи воды в смесительные машины, не имеюшие водоподающих блоков, а также мерники и система обвязки.
6.4 Технические средства и технология гидроизоляции зон движения рабочих и продуктивных растворов
К оборудованию технологических скважин ПВ предъявляются специфические требования, связанные с необходимостью гидроизоляции зон движения рабочих и продуктивных растворов. Надежная изоляция зон движения растворов повышает технико-экономические показатели добычи и является важным мероприятием охраны природы и в частности подземных вод.
Осуществляется гидроизоляция по самым разнообразным схемам с применением различных материалов. Одним из самых распространенных способов гидроизоляции рабочих и продуктивных растворов является способ с использованием кислотостойких резиновых манжет с впаянным в основание металлическим кольцом, которое обеспечивает необходимую прочность и жесткость. С помощью специальных кислотостойких штифтов манжета присоединяется к телу трубы, изготовленной обычно из полиэтилена или другого кислотостойкого материала. Место установки манжеты соответствует переходу ствола скважины на уменьшенный диаметр бурения. Схема гидроизоляции показана на рис. 6, а.
Гидроизоляционный материал заливается в этом случае обычно поверх манжеты через заливочные трубки, которые опускаются в затрубное пространство или внутрь эксплуатационной (обсадной) колонны.
В последнее время технологические скважины ПВ оборудуются фильтрами с гравийной обсыпкой, очень часто с предварительным расширением призабойной зоны. Применение гравийных фильтров способствует повышению производительности технологических скважин и увеличению срока службы. Гидроизоляционный материал при сооружении таких скважин заливается поверх слоя гравия (рис.5,б).
Интервал гидроизоляции обычно равен высоте от манжеты или верхнего уровня гравийного слоя до, статического (откачных скважин) или динамического (для нагнетательных скважин) уровня подземных вод. Остальная часть скважины обычно заполняется инертным (очень часто песчаным) материалом, а устье скважин на глубину 2 – 3 м цементируется, что предотвращает попадание растворов с поверхности в затрубное пространство.
Гидроизоляция с помощью манжет выполняется с небольшими затратами средств и обеспечивает при качественной посадке манжеты достаточно высокую надежность перекрытия зон движения растворов.
Однако следует отметить и значительные недостатки гидроизоляции с использованием манжет, главным из которых является проникновение цементных растворов или других гидроизоляционных материалов под манжету, что приводит иногда к цементированию фильтров. В большинстве случаев это обусловливается отсутствием достаточного уступа при переходе на меньший диаметр скважины и его размывом при промывке скважин через фильтр.
При заливе гидроизоляционного материала поверх гравийного слоя также не всегда обеспечивается надежная изоляция, так как возможны перетоки растворов вверх по стволу скважины и проникновение материала гидроизоляции в слой гравия. Перетоки растворов по стволу скважины могут быть обусловлены двумя обстоятельствами:
