Бурение и оборудование скважин при подземном выщелачивании полезных ископаемых
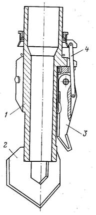
Расширитель эксцентриковый отличается простотой конструкции, высокой надежностью в работе (из-за отсутствия подвижных элементов) и быстротой изготовления.
Процесс разрушения породы стенок буровых скважин таким долотом основан на свойстве вращающихся предметов занимать положение в пространстве, при котором их момент инерции относительно оси вращения стремится быть максимальным. Расширение скважин происходит за счет возникающих центробежных сил и частично за счет гидромониторного эффекта струи жидкости.
Рис. 28. Расширитель гидромеханический эксцентриковый:
1 – бурильная труба; 2 – муфта замка для бурильных труб; 3 – лопасть; 4 – насадка; 5 – втулка; 6 – верхняя крышка; 7 – нижняя крышка; 8 – корпус расширителя
Расширитель присоединяется к БТ с помощью замка, расположенного в верхней части расширителя, и опускается в скважину.
Важной проблемой при расширении скважин с помощью механических и гидромеханических расширителей является очистка расширителя и расширенной призабойной зоны от разрушенной породы и шлама, так как в расширенной части скважины возникают неблагоприятные условия для выноса шлама из-за уменьшения скорости восходящего потока ПЖ.
В этих условиях существенную роль играет турбулизация потока ПЖ. В целях усиления турбулизации потока ПЖ при применении эксцентриковых расширителей следует предусмотреть дополнительные лопасти или другие средства турбулизации, которые устанавливаются непосредственно над расширителем.
Другим направлением повышения качества очистки расширяемой части скважины и режущих элементов долота от разрушенной породы и шлама может быть применение обратно всасывающей промывки. В этом случае могут использоваться расширители, показанные на рис. 29. Режущие лопасти расширителей выводятся в рабочее положение в начальный период их работы за счет центробежных сил, возникающих при вращении долот, а также воздействия обратного потока жидкости при бурении с обратно всасывающей промывкой. В дальнейшем усилие резания и крутящий момент регулируются за счет передаваемой на долото осевой нагрузки. При этом вращение бурового инструмента осуществляется с небольшой частотой.
|
|
Рис.29. Расширитель инерционный:
1 – корпус; 2 – породоразрушающий наконечник; 3 – лопасть-расширитель; 4 – тяга
При полном расширении ствола скважины произойдет уменьшение крутящего момента, что можно заметить по характеру работы ротора или двигателя буровой установки. Закончив расширение, осуществляют интенсивную промывку ствола скважины, а затем инструмент вместе с расширителем поднимают на поверхность.
Гидродинамический способ расширения призабойной зоны скважины производят с помощью устройств, имеющих гидромониторные насадки. Такие устройства легко изготовить в местах производства работ. Однако в этом случае имеются затруднения по удалению разрушенной породы с призабойной зоны скважины и подъему ее из расширенной части на поверхность. При отсутствии специальных подъемных устройств возможны осаждения шлама на забое и снижение эффективности расширения.
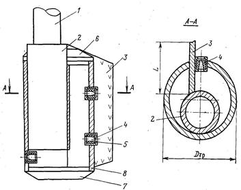
Расширитель гидравлический, показанный на рис. 30, позволяет периодически очищать забой скважины от разрушенной породы. Он опускается на забой на бурильных или насосно-компрессорных трубах, в нижней части которых выполнены отверстия для смесителя эрлифта. Сверху отверстия в смесителе эрлифта плотно закрываются патрубком, который приваривается к наружной поверхности трубы. В патрубке имеются отверстия для подачи воздуха по трубам меньшего диаметра или по шлангам. Насадки монтируются в нижней части бурового инструмента в специальном подвижном клапане.
Рис. 53. Расширитель гидравлический:
1 – корпус; 2 – смеситель эрлифта; 3 – патрубок; 4 – обратный клапан; 5 – металлокерамическая насадка;
6 – клапан
Наличие режущих элементов (лопастей) в нижней части расширителя позволяет обеспечить спуск расширителя на заданную глубину и осуществить при необходимости углубление скважины одновременно с формированием камеры.
Об окончании расширения призабойной зоны скважины в интервале рудного пласта при применении механических и гидромеханических расширителей можно судить по изменению крутящего момента.
Разрушение пород стенок скважины в процессе образования камеры производится при подаче на забой скважины промывочной жидкости. Выходя с большой скоростью из насадки, струя жидкости разрушает стенки скважины и формирует камеру, при этом буровой инструмент поворачивается.
Для удаления с забоя скважины разрушенной породы по трубам (шлангам) начинают подавать воздух, в результате чего открывается клапан 6 и внутрь бурильных труб поступает пульпа.
Поднятая пульпа отводится на поверхность в специальные отстойники или в зумпф. Затем может повториться операция по разрушению пород стенок скважины. Для подачи воздуха к смесителю эрлифта могут применяться полиэтиленовые шланги диаметром 25 – 32 мм. Для предотвращения разрушения шлангов давлением жидкости, подаваемой к насадке, должна быть предусмотрена постановка обратного клапана в отводном патрубке 3.
Расширение призабойной зоны технологических скважин способствует уменьшению диаметра основного ствола скважины, что дает возможность повысить скорости бурения, уменьшить материально-технические затраты и снизить стоимость сооружения скважин. Кроме того, при сооружении скважин для подземного выщелачивания легко создается уширенный контур гравийной обсыпки, что способствует повышению производительности скважин и увеличению их срока службы.
Список литературы
1. Сергиенко И.А., Мосеев А.Ф., Бочко Э.А., Пименов М.К. Бурение и оборудование геотехнологических скважин М., Недра, 1984
2. Бобко П.С., Романов В.С., Исаев Г.Г. Строительство скважин подземного выщелачивания солей. М., ВНИИГ, НИИТЭХИМ, 1976
3. Бахуров В. Г., Руднева И. К., Химическая добыча полезных ископаемых, М., 1972
4. Аренс В. Ж. [и др.], Геотехнологические способы добычи полезных ископаемых, в кн.: Технология разработки месторождений твёрдых полезных ископаемых, т. 11, М., 1973.
Патенты
Скважинный фильтр (RU 2 284 408 С1)
Реферат:
Изобретение относится к области горного дела и может быть использовано для оборудования водозаборных, нефтяных, газовых скважин и скважин подземного выщелачивания в интервале продуктивного пласта, сложенного слабосцементированными породами. Обеспечивает образование устойчивых арочных структур вокруг скважинного фильтра, исключающих вынос породных частиц, песка за счет оптимизации работы системы: пластовая порода или гравийная набивка и скважинный фильтр в среде фильтруемого агента и упрощение технологии сборки фильтра. Сущность изобретения: скважинный фильтр включает фильтрующую оболочку, базовый элемент в виде трубы, продольные элементы в виде стержней и опорные кольца. При этом опорные кольца выполнены с наружными пазами под продольные элементы и внутренними пазами. Внутренние пазы образуют с базовым элементом продольные каналы. Продольные элементы выполнены из стержней в виде прямоугольных треугольников. Катеты последних образуют наружный диаметр фильтрующей оболочки. Острые углы стержней в виде прямоугольных треугольников установлены в продольных каналах с образованием односторонних расширений и обеспечением направленных потоков фильтруемого агента.
