Бурение и оборудование скважин при подземном выщелачивании полезных ископаемых
Изобретение относится к области горного дела и может быть использовано для оборудования водозаборных, нефтяных, газовых скважин и скважин подземного выщелачивания в интервале продуктивного пласта, сложенного слабосцементированными породами.
Известен скважинный фильтр, включающий фильтрующую оболочку с продольными каналами и элементами в виде шарнирных выпукло-вогнутых пластинок [1].
Известный фильтр имеет шарнирную конструкцию для регенирации фильтра.
Недостатком известного фильтра является конструктивная ненадежность, особенно в глубоких и осложненных скважинах.
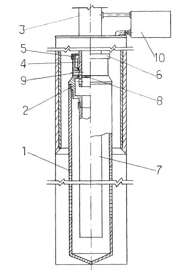
Фиг. 1
Наиболее близким является скважинный фильтр, включающий фильтрующую оболочку с продольными элементами и каналами, базовый и опорные элементы [2].
В известном фильтре в качестве продольных элементов использованы стержни различного сечения, общим для них является то, что они образуют на базовом элементе расширяющие в обе стороны продольные каналы и фильтруемый агент проходит через них 15 по хаотическим направлениям, что не обеспечивает образования прочных структур вокруг фильтрующей оболочки и не исключает выноса песка в процессе эксплуатации.
Кроме того, осложнены сборка и крепление элементов фильтра и контроль качества изготовления, в частности не обеспечивается определенность зазоров продольных каналов.
Задача изобретения состоит в образовании устойчивых прочных структур вокруг скважинного фильтра, исключающих вынос песка за счет оптимизации работы системы: пластовая порода или гравийная набивка и скважинный фильтр в среде фильтруемого агента и упрощение технологии сборки фильтра.
Поставленная задача решается тем, что в скважинном фильтре, включающем 25 фильтрующую оболочку с базовым элементом в виде трубы, продольными элементами в виде стержней и опорными кольцами, последние выполнены с наружными пазами под продольные элементы и внутренними пазами, образующими с базовым элементом продольные каналы, при этом продольные элементы выполнены из стержней в виде прямоугольных треугольников, катеты которых образуют наружный диаметр фильтрующей зо оболочки, а острые углы установлены в продольных каналах с образованием односторонних расширений и обеспечением направленных потоков фильтруемого агента.
Кроме того, опорные кольца снабжены центраторами, выполненными в виде полуколец.
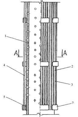
Сущность изобретения поясняется чертежом. На фиг.1 дан общий вид фильтра, на фиг.2 – разрез по А-А.
Скважинный фильтр включает базовый элемент 1 в виде трубы, фильтрующую оболочку 2 с продольными элементами 3, выполненными из стержней в виде прямоугольных треугольников, и каналами 4. Базовые элементы выполнены в виде опорных колец 5 с наружными пазами под продольные элементы 3 и внутренними пазами, образующими с базовым элементом 1 продольные перепускные каналы 6. Продольные элементы 3, выполненные из стержней в виде прямоугольных
треугольников, установлены острым углом в продольные пазы опорных колец 5 и образуют между собой продольные каналы с односторонним расширением, а катеты образуют наружный диаметр фильтрующей оболочки.
Опорные кольца 5 снабжены центраторами, выполненными в виде полуколец 7. Составные части фильтра сварены или склеены в местах контактов.
Работа фильтра заключается в обеспечении направленных движений потоков фильтруемого агента и за счет центробежных сил вытеснения породных частиц или гравийной набивки от продольных каналов.
Конструкция фильтра позволяет использование его в различных условиях, в том числе с осложнениями, выраженными искривлениями ствола скважины и сложностью доставки гравийной набивки.
Источники информации:
1. Авторское свидетельство СССР №1097779, Е 21 В 43/08. 15.06.82.
2. Патент РФ №2147676, E 21 В 43/08, 20.04.2000.
Формула изобретения:
1. Скважинный фильтр, включающий фильтрующую оболочку с базовым элементом в виде трубы, продольными элементами в виде стержней и опорными кольцами, отличающийся тем, что опорные кольца выполнены с наружными пазами под продольные элементы и внутренними пазами, образующими с базовым элементом продольные каналы, при этом продольные элементы выполнены из стержней в виде прямоугольных треугольников, катеты которых образуют наружный диаметр фильтрующей оболочки, а ю острые углы установлены в продольных каналах с образованием односторонних расширений и обеспечением направленных потоков фильтруемого агента.
2. Фильтр по п.1, отличающийся тем, что опорные кольца снабжены центраторами, выполненными в виде полуколец.
Способ сооружения фильтровой сквадины (2 309 244 С1)
Реферат:
Изобретение относится к горному делу, в частности к способам сооружения скважин для подземного выщелачивания, на воду и другую текучую среду, и может быть использовано при заканчивании для борьбы с выносом песка. Технический результат – повышение надежности очистки от бурового шлама и пластового песка и формирование естественного фильтра. В способе сооружения фильтровой скважины, включающем спуск в скважину скважинного фильтра на промывочной трубе с промывочной муфтой, намыв гравийной набивки, вынос вымытых частиц и предэксплуатационную откачку скважины, промывочную муфту снабжают телескопическим клапаном с радиальными каналами и перекрытым центральным каналом в нижней части. Вынос вымытых частиц и предэксплуатационную откачку производят через прискважинную камеру, соответственно, в верхнем положении клапана с сообщенными радиальными каналами и промывочной муфты с кольцевой полостью скважины и нижнем положении клапана с сообщенными радиальными каналами клапана со скважинным фильтром. Изобретение развито в зависимом пункте.
Настоящее изобретение относится к горному делу, в частности, к способу сооружения скважин для подземного выщелачивания, на воду и другой текучей среды, и может быть использовано при заканчивании скважин в процессе бурения или проведения ремонта скважин для борьбы с выносом песка.
5 Известен способ сооружения фильтровой скважины, включающий спуск в скважину эксплуатационной, фильтровой колонн с двойной промывочной трубой, намыв гравия, внутрискважинную промывку [1].
Недостатком известного способа является промывка скважины через фильтровую колонну, что не обеспечивает надежной очистки фильтровой зоны и предэксплуатационной откачки скважины.
Наиболее близким является способ сооружения фильтровой скважины, включающий спуск в скважину эксплуатационной, фильтровой колонн, промывочной муфты и промывочной трубы, промывку скважины [2].
Недостатком известного способа является промывка фильтровой зоны через 15 эксплуатационную колонну, что не обеспечивает надежную очистку от бурового шлама и пластового песка и формирование естественного фильтра. Кроме того, известный способ не предназначен для подземного выщелачивания.
