Бурение и оборудование скважин при подземном выщелачивании полезных ископаемых
В большинстве случаев нашли применение способы создания цементирующихся гравийных обсыпок, что связано в первую очередь с облегчением замены вышедшего из строя фильтра и сохранением относительно высокой проницаемости.
Укладку гравия вокруг фильтра следует производить с противодавлением на пласт, что снижает кольматацию гравийного слоя песками продуктивного горизонта.
8.4 Оборудование устья технологических скважин
Устья технологических скважин, предназначенных для добычи твердых ПИ, в процессе подготовки и эксплуатации должны быть оснащены специальным оборудованием.
Оборудование устья включает обустройство и герметизацию затрубного и межтрубного пространства обсадных и эксплуатационных колонн и установку специальных оголовков, позволяющих осуществить обвязку эксплуатационных и рабочих колонн.
Основное назначение устьевой арматуры: а) регулирование направления подачи в скважину рабочих агентов (вода, выщелачивающий кислотный раствор, водяной пар, нерастворитель, воздух и др.); б) регулирование отвода от устья скважины и распределение продуктивных растворов; в) предохранение ствола скважины от загрязнения и попадания посторонних предметов, г) обеспечение надежной герметизации устья с целью предотвращения загрязнения окружающей среды и ствола скважины рабочими агентами и продуктивными растворами и обеспечение их раздельного движения; д) осуществление контроля за работой скважины.
К оборудованию устья технологических скважин предъявляются следующие основные требования:
1) основные узлы устьевого оборудования должны быть выполнены из материала, стойкого к длительному контакту с рабочими агентами и продуктивными растворами;
2) основные узлы должны выдерживать максимальное давление подачи рабочих агентов с учетом двукратного запаса прочности;
3) устьевое оборудование должно быть оснащено необходимыми устройствами и приборами для измерения соответствующих параметров работы скважины, а также вентилями и задвижками. При. использовании эрлифтов для подъема продуктивных растворов оголовки должны дополнительно содержать сепараторы для отделения песка и воздуха от растворов;
4) в конструктивном отношении устьевое оборудование должно быть простым, иметь небольшие габариты, легко и быстро монтироваться и демонтироваться.
Большие требования высокой надежности работы предъявляются к устьевому оборудованию технологических скважин ПВ.
Для предохранения попадания рабочих и продуктивных растворов в почвенный слой предусматривается заливка затрубного пространства на устье скважины гидроизоляционными материалами, засыпка специальных материалов, поглощающих и нейтрализующих технологические растворы, а также бетонирование площадок для установки устьевого оборудования и откачных средств.
В качестве гидроизоляционных материалов могут использоваться кислотостойкие цементы и глина с последующей засыпкой доломитовой или мраморной крошки, а иногда и извести. В случае утечек продуктивные или выщелачивающие растворы будут реагировать с материалом засыпки и нейтрализуются с образованием гипса или другой твердой фазы. ПИ, содержащееся в растворе, в дальнейшем также может быть удалено вместе с материалом обсыпки.
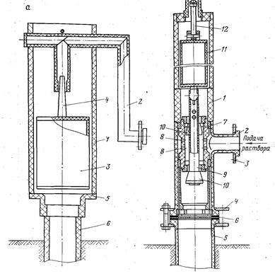
В процессе сооружения технологических скважин ПВ применяются оголовки, предназначенные для оборудования устья нагнетательных и откачных скважин. В свою очередь, нагнетательные скважины могут работать в режиме свободного налива и подачи выщелачивающего раствора под давлением до 1,0 – 1,5 МПа.
Конструкция оголовка для нагнетательных скважин, работающих в режиме свободного налива, приведена на рис. 22. Оголовки устанавливаются на эксплуатационной колонне при помощи фланцевого или резьбового соединений. Оголовок, показанный на рис. 22, а, состоит из полого корпуса, в котором размещен поплавок с запорным клапаном, расположенным в патрубке и соединенным с раствароподводящим трубопроводом.
Рис. 22. Оголовки нагнетательных скважин ПВ, работающих в режиме свободного налива:
а –при отсутствии газовых выбросов:
1 – корпус; 2 – патрубок; 3 – поплавок; 4 – клапан; 5 – соединительная муфта- 6 – эксплуатационная колонна;
б – при наличии газовых выбросов:
1 – корпус; 2 – патрубок; 3, 4 – фланцы; 5 – эксплуатационная колонна; 6 – диафрагма; 7 – втулка; 8 – отверстия во втулке; 9 – шток; 10 – клапан; 11 – поплавок; 12 – запорный орган; 13 – отверстия
Под действием выщелачивающего раствора поплавок отжимается и находится в нижней части корпуса. При снижении приемистости скважины и повышении уровня раствора в колонне поплавок всплывает и с помощью клапана перекрывает отверстие в раствороподающем патрубке. Это предупреждает излив раствора на поверхность.
Все контрольно-измерительные приборы (расходомеры, манометры и др.) устанавливаются в нагнетательной линии. Основное достоинство такого оголовка – простота конструкции и надежность в работе. Однако оголовок такой конструкции невозможно применять при наличии выбросов газов, образующихся при взаимодействии выщелачивающих растворов с породами продуктивного горизонта.
Оголовок, показанный на рис. 22, б, позволяет автоматически стабилизировать работу скважины при наличии газовых выбросов. Он состоит из полого корпуса с патрубком для подачи растворов в скважину. В корпусе размещена втулка 7 и поплавок 11 со штоком 9, клапаном 10 и запорным органом 12. Для поддержания проектного! расхода растворов в нижней части оголовка размещается регулирующая шайба. При снижении приемистости скважины уровень раствора поднимается и заполняет корпус оголовка. При этом поплавок поднимается вверх и с помощью клапана 10 перекрывает отверстие во втулке, в результате чего прекращается подача выщелачивающих растворов до тех пор, пока уровень раствора не понизится, а поплавок со штоком не опустится вниз.
Выпуск образовавшихся газов происходит через отверстие 13 в крышке корпуса. При снижении приемистости скважины и заполнении корпуса оголовка выщелачивающими растворами запорный орган на поплавке перекрывает выход раствора на поверхность. При скоплении газов в верхней части корпуса будет непрерывно: увеличиваться их давление. Если давление газов превысит давление жидкости в корпусе оголовка, поплавок переместится вниз и временно откроет отверстие для выхода газов.
В случае выделения большого количества газов при наличии в продуктивном горизонте карбонатных пород газовые пробки могут привести к внезапным выбросам газожидкостной смеси, повреждению при этом устьевого оборудования и загрязнению поверхности рабочей площадки. Это приводит также к потере растворителя и снижает безопасность ведения работ. Повысить эффективность работы нагнетательной скважины и безопасность ведения работ можно с помощью следующего устройства, показанного на рис. 23, в котором по длине раствороподающей колонны выше уровня раствора в скважине предусмотрено размещение сетчатых отражателей. При этом нижний торец раствороподающей колонны находится в нижней части фильтра.
