Бурение и оборудование скважин при подземном выщелачивании полезных ископаемых
Для конструкции скважин, показанных на рис. 5, б, диаметры эксплуатационных колонн имеют величины 110 – 225 мм.
В глубоких скважинах при высоком динамическом уровне продуктивных растворов эксплуатационная колонна может быть комбинированной. Верхняя часть колонны выбирается большего диаметра для установки погружных насосов. Длина верхней части эксплуатационной колонны увеличенного диаметра устанавливается с учетом динамического уровня раствора в скважине, длины насоса, глубины погружения насоса ниже динамического уровня (3 – 5 м) и дополнительного понижения уровня в результате кольматации фильтра. Собирается эта часть колонны в большинстве случаев из полиэтиленовых труб, длина которых определяется предельной глубиной спуска труб данного типоразмера. Нижняя же часть эксплуатационной колонны соответствует диаметру фильтра (рис. 5, г). Материал труб нижней и верхней частей колонны также может различаться, обычно в нижней части устанавливаются более прочные трубы, например, из нержавеющей стали, стеклопластиковые и др.
В некоторых случаях при эрлифтном подъеме продуктивных растворов при использовании в качестве раствороподъемных труб эксплуатационных колонн возможно уменьшение диаметра колонны по сравнению с диаметром фильтра (рис. 5, в). Это устанавливается На основе расчетных соотношений диаметра воздухоподающих и раствороподъемных труб и производительности скважины.
Диаметр скважины под эксплуатационную колонну при одноколонных конструкциях зависит от диаметра и материала применяемых труб (полиэтиленовые, стеклопластиковые, из нержавеющей стали и др.); типа, диаметра и места установки утяжелителя для спуска полиэтиленовых колонн, применяемых способов цементирования и гидроизоляции зон движения рабочих и продуктивных растворов.
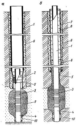
При применении системы отработки месторождений, в которых Число откачных и нагнетательных скважин выбирается из соотношения 1:3, 1:4, 1:5, производительность откачных скважин должна быть соответственно в 3, 4 и 5 раз больше производительности нагнетательных скважин. На рис. 7 даны типовые конструкции высокодебитных скважин. При сооружении высокодебитных откачных скважин, оборудованных фильтрами с песчано-гравийной обсыпкой, находят применение конструкции, в которых предусмотрена обсадка ствола скважины до кровли продуктивного горизонта трубами из нержавеющей стали, стеклопластика и других, материал которых не подвержен разрушению при действии кислотных растворителей (рис. 6, а). Конструктивно башмак обсадной колонны выполняется меньшего диаметра для более надежной и легкой установки гидроизоляционного пакера.
Рис. 6. Типовые конструкции высокодебитных эксплуатационных скважин ПВ: а – высокодебитные откачные скважины; б – скважины большой глубины при наличии неустойчивых интервалов ствола:
1 – эксплуатационная колонна; 2 – хвостовик; 3 – фильтр; 4 – отстойник; 5 – пакер; 6 – слой гидроизоляции;
7 – защитная колонна; 8 – глинистый раствор; 9 – гравий; 10 – центратор
Забуривание скважины и бурение до продуктивного горизонта обычно осуществляются долотами диаметром 295, 346, 394 мм. Затрубное пространство обсадной колонны цементируется. Дальнейшее бурение с целью вскрытия продуктивного горизонта осуществляется долотами диаметром 190 – 243 мм.
Интервал продуктивного пласта, в котором располагается каркас фильтра с гравийной обсыпкой, при необходимости расширяется. Фильтр вместе с надфильтровым патрубком и отстойником опускают в скважину на БТ соединенных с надфильтровым патрубком с помощью специального переходника, имеющего левую резьбу. Для обеспечения лучшего центрирования фильтра на забое скважины он снабжается двумя направляющими фонарями – на отстойнике и на надфильтровом патрубке (в верхней части).
Конструкция эксплуатационных скважин, применяемая в условиях больших глубин (свыше 300 м) и при наличии неустойчивых пород в верхних интервалах скважины, показана на рис.6, б. Закрепление неустойчивой части ствола скважины осуществляется обсадной (защитной) колонной из металлических труб с последующей цементацией затрубного пространства. В дальнейшем скважина оборудуется эксплуатационной колонной из кислотостойких материалов, которая изолируется от обсадной колонны при помощи манжет (пакеров), цементных, глинистых или известковых растворов.
Глубины эксплуатационных скважин ПВ определяются положением продуктивного горизонта, длиной отстойника и др. Положение рудного пласта определяется путем взятия геологических проб (кернов) при опережающем бурении скважин малого диаметра в процессе сооружения технологических скважин, а также по данным геофизических измерений.
Длина отстойника нагнетательных скважин определяется количеством взвесей, находящихся в рабочем растворе, подаваемом в скважину, и временем между профилактическими ремонтами скважин. Обычно длина отстойников в фильтрах, устанавливаемых в нагнетательных скважинах, составляет не более 1 % номинальной глубины скважин, для откачных скважин эта величина не превышает 2 %.
В некоторых случаях при низких уровнях пластового раствора и большой глубине скважин использование эрлифтов в качестве раствороподъемных средств возможно только путем увеличения заглубления смесителя под уровень пластовых растворов. Для этого глубину скважин увеличивают.
Если при перебуривании скважины ниже рудного горизонта последняя вскрывает водоносный горизонт, то необходимо предусмотреть цементацию затрубного пространства отстойника до нижней границы фильтра.
5. Крепление геотехнолгичеких скважин
5.1 Обсадные трубы для оборудования геотехнологических скважин
К обсадным трубам для крепления и оборудования геотехнологических скважин предъявляются специфические требования, связанные с условиями сооружения и эксплуатации скважин.
Основными из них являются следующие: 1) достаточная механическая прочность в условиях горного давления и гидродинамических нагрузок; 2) стойкость материала труб к химически агрессивным средам (рабочим и продуктивным растворам), а также при работе в условиях низких и высоких температур; 3) высокие адгезионные свойства или сцепление с различными тампонажными и гидроизоляционными материалами; 4) простота конструкции, надежность в работе и высокая герметичность соединений труб; 5) невысокая стоимость труб, обусловливающая рациональную конструкцию скважин.
Правильный выбор типа труб для обсадных и эксплуатационных колонн геотехнологических скважин определяет работоспособность и срок службы скважин.
В настоящее время для крепления и оборудования геотехнологических скважин широко применяются стальные (в том числе из нержавеющей стали) и полиэтиленовые трубы. Реже используются полипропиленовые, винипластовые, бипластмассовые, фанерные и стальные трубы, футерованные полиэтиленом. В стадии внедрения находятся стеклопластиковые и металлопластовые трубы.
Стальные трубы, изготовляемые по ГОСТ 632–80, широко применяются в качестве обсадных и эксплуатационных колонн при сооружении технологических скважин для подземного выщелачивания солей, а также при обсадке и оборудовании различных вспомогательных скважин (баражные, гидроразрыва пластов, водопонизительные и др.).
