Бурение и оборудование скважин при подземном выщелачивании полезных ископаемых
Ведутся работы по созданию специализированных буровых агрегатов для сооружения технологических скважин ПВ.
В подземных условиях при выщелачивании в скальных блоках для бурения скважин применяются буровые агрегаты типа НКР-100М, БСК-2М-100, БСК-2М2-100, буровые каретки БК-2П с перфораторами ПК-60 и др.
3.2 Самоходные буровые агрегаты с роторными вращателями
Буровой агрегат 1БА-15В. Буровой агрегат состоит из трех блоков: бурового, насосно-силового и компрессорного.
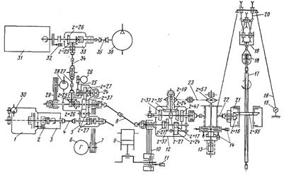
Кинематическая схема бурового агрегата 1БА-15В приведена на рис. 3. Буровой блок агрегата монтируется на шасси автомобиля МАЗ-500А, здесь располагаются ротор с проходным отверстием 410 мм, лебедка, коробка скоростей с пневмомуфтой, буровой насос НБ-12-63-40, буровая мачта с секционными гидравлическими домкратами, генератор мощностью 12 кВт, коробка отбора мощности с гидравлическим насосом, гидрораскрепитель, пульт управления (ПУ), аварийный компрессор для пневмоуправления.
Рис.34. Кинематическая схема бурового агрегата 1БА-15В:
1 – двигатель ЯМЗ-256; 2, 11, 14, 32 – пневмокамеры; 3 – коробка передач двигателя; 4, 8, 22, 27, 34, 35 – карданные валы; 5 – коробка отбора мощности; 6 – генератор; 7, 10, 25, 29 – клиноремённые передачи; 9 – буровой насос; 12 – коробка передач; 13- лебёдка; 15 – индикатор веса; 16 – талевый канат; 17 – ведущая труба; 18 – вертлюг; 19 – талевый блок; 20 – кронблок; 21 – ротор; 23 - цепная передача; 24 – гидронасос; 26 – тахогенератор; 28 – аварийный компрессор; 30 – компрессор двигателя; 31 – двигатель Д-108 для привода компрессора; 33 – редктор угловой; 36 – компрессор К9М.
На насосно-силовом блоке расположены двигатель ЯМЗ-236 с коробкой передач, буровой насос 9МГР-61 или 9МГР-73, угловой редуктор, аккумуляторный ящик и др.
На компрессорно-силовом блоке располагаются двигатель Д-108 со сцеплением, компрессор К9М для производства откачек, угловой редуктор, ресивер и др.
Для привода средств механизации, имеющихся на буровом агрегате, а также с целью облегчения управления механизмами буровой установки она снабжена пневмо- и гидромеханизмами.
Буровой насос и ротор включаются с пульта управления бурильщика с помощью пневмомуфт. Фрикцион и тормоз лебедки имеют пневмоусилители, которые получают привод от компрессора автошасси или аварийного компрессора.
На буровом агрегате используются гидрораскрепитель для развинчивания БТ диаметром 73 мм с помощью ротора, приспособление для выноса БТ, вспомогательная катушка и др.
Для измерения осевой нагрузки на долото применяется индикатор веса ГИВ-6-11. При бурении можно использовать свечи длиной 12 м, обсаживать скважину трубами диаметром 377 мм без снятия ротора.
Буровая установка УБВ-600. Буровая установка состоит из двух блоков – бурового и насосного, смонтированных на трехосном автошасси КрАЗ-257.
Привод основных механизмов осуществляется от ходового двигателя ЯМЗ-238 через двухскоростную коробку отбора мощности. Управление коробкой отбора мощности установлено в кабине автомобиля.
В состав бурового блока входят раздаточная коробка, угловой редуктор, двухбарабанная лебедка, вал для привода ротора, компрессор для привода механизмов управления, мачта с гидравлическими домкратами подъема, закрепленная на раме лебедки.
На насосном блоке размещены раздаточная коробка, два насоса 9МГР-61 с обвязкой, электрогенератор мощностью 30 кВт, компрессор КТ-7, устройства для спаривания насосного и бурового блоков. Передача вращения с блока на блок производится с помощью карданного вала. Суммирование мощности двух двигателей на одну трансмиссию не допускается.
Ротор с проходным отверстием 410 мм и подсвечник устанавливаются на рабочей площадке.
Мачта – наклонная, телескопическая. Верхняя секция выдвигается посредством талевого блока установки. На верхнем торце нижней секции крепят полати емкостью 50 свечей из труб диаметром 114 мм. Полати при транспортировке перевозятся отдельно.
Лебедка состоит из двух барабанов – бурового и тартального, которые включаются шинно-пневматическими муфтами. Из средств механизации работ предусматриваются гидрораскрепитель, тележка для переноса труб, устройство для свинчивания долот под ротором и бурения шурфа, электрическая лебедка и компрессор.
Управление механизмами бурового агрегата сосредоточено на пульте управления бурового и насосного блоков.
Технические характеристики самоходных буровых агрегатов с роторными вращателями приведены в табл. 1.
Таблица 1
|
Параметры |
УРБ-ЗАМ |
УРБ-ЗАЗ |
УРБ-ЗА2 |
1БА-15В |
УБВ-600 | |||||||
|
Грузоподъемность, т: | ||||||||||||
|
номинальная |
5 |
6,5 |
6,3/12,5 |
12,5 |
32 | |||||||
|
максимальная |
8 |
13 |
10/20 |
20 |
50 | |||||||
|
Основной способ бурения | Вращательный с промывкой | |||||||||||
|
Рекомендуемая глубина бурения, м |
500 |
600 |
800 |
500 |
600 | |||||||
|
Диаметр труб, мм |
60 |
60 |
60 |
73 |
114 | |||||||
|
Рекомендуемые диаметры скважин, мм: | ||||||||||||
|
начальный |
243 |
243 |
243 |
394 |
490 | |||||||
|
конечный |
93 |
93 |
93 |
194 |
214 | |||||||
|
Транспортная база |
Шасси МАЗ-500А |
Шасси МАЗ-500А |
Шасси МАЗ-500А |
Шасси МАЗ-500А |
КрАЗ-257 (2 шасси) | |||||||
|
Силовой привод, тип |
Дизель Д-54 |
Дизель А-41Г |
ЯМЗ-236 |
ЯМЗ-236/ Д-108 |
ЯМЗ-238 (2 двигателя) | |||||||
|
Мощность, кВт |
39,7 |
66,2 |
77,2 |
77,2/79,4 |
110,3х2 | |||||||
|
Частота вращения,об/мин |
1300 |
1750 |
1500 |
1500/1070 |
1500 | |||||||
|
Удельный расход топлива, г/(кВт∙ч) |
150,7 |
132,4 – 136 |
122,8 – 133 |
132,4 – 133 |
122,8 – 133 | |||||||
|
Ресурс до капитального ремонта, ч |
5000 |
6000 |
8000 |
8000 |
8000 | |||||||
|
Мачта | Секционная складывающаяся | Телескопическая наклонная | ||||||||||
|
Высота до оси кронблока, м |
16 |
18 |
18 |
18 |
22,4 | |||||||
|
Подъем мачты | Гидродомкратом | |||||||||||
|
Длина бурильной трубы/свечи, м |
4,5/9 |
6/12 |
6/12 |
6/12 |
12 | |||||||
|
Механизм вращения |
Ротор | |||||||||||
|
Проходное отверстие стола, мм |
250 |
250 |
250 |
410 |
410 | |||||||
|
Частота вращения, об/мин (прямые основные передачи) |
110, 190, 314 |
75, 150, 285 |
79, 160, 300 |
65, 130, 245 |
105, 183 | |||||||
|
Число передач основных / вспомогательных |
4 |
4 |
4/4 |
4/4 |
2/3 | |||||||
|
Крутящий момент (максимальный), Н∙м |
3500 |
7000 |
4500 (7000) |
7000 (1000) |
1700 | |||||||
|
Натяжение талевого каната максимальное, кН |
28 |
35 |
52 |
52 |
90/30 | |||||||
|
Диаметр каната, мм |
15,5 |
18 |
18 |
18 |
25/13 | |||||||
|
Емкость барабана, м |
100 |
150 |
150 |
150 |
200 | |||||||
|
Оснастка талевой системы |
1x2 |
2x3 |
1x2/2x3 |
2x3 |
3X4 | |||||||
|
Скорость подъёма крюка, м/с |
0,54 – 1,56 |
0,34 – 1,32 |
0,4 – 1,48 |
0,2 – 1,39 |
0,18 – 1,2 | |||||||
|
Тип подачи |
С тормоза лебедки |
С тормоза лебедки и гидравлическая |
С тормоза лебедки и гидравл. (по заказу) |
С тормоза гидравлическая (по заказу) |
С тормоза лебедки | |||||||
|
Усилие подачи, кН: | ||||||||||||
|
вниз |
– |
35 |
35 |
35 |
– | |||||||
|
вверх |
– |
50 |
50 |
50 |
– | |||||||
|
Ход подачи, м |
На длину штанги |
0,6 или на длину штанги |
0,6 или на длину штанги |
0,6 или на длину штанги |
На длину штанги | |||||||
|
Параметры | УРБ-ЗАМ | УРБ-ЗАЗ | УРБ-ЗА2 | 1БА-15В | УБВ-600 | |||||||
|
Буровой насос |
11ГрИ |
НБ 12-63-40 |
11ГрИ |
НБ 12-63-40 |
9МГр-61 (2 насоса) | |||||||
|
Приводная мощность, кВт |
35,3 |
50 |
35,3 |
50 |
125 | |||||||
|
Подача максимальная, л/с |
7 |
12, 25 |
7 |
12, 25 |
32 | |||||||
|
Давление максимальное, МПа |
6,3 |
6,3 |
6,3 |
6,3 |
15 | |||||||
|
Компрессор |
– |
– |
Гаро |
К9М |
КТ-7 | |||||||
|
Подача, м3/мин |
– |
– |
0,5 |
10 |
5,3 | |||||||
|
Давление, МПа |
– |
– |
0,7 |
0,6 |
0,8 | |||||||
|
Гидравлический насос |
НШ-46 (на двигателе) |
НШ-10 (на двигателе) |
НШ-32 или НШ-10 |
НШ-32 или НШ-10 |
М-20 | |||||||
|
Электрогенератор | ||||||||||||
|
Мощность, кВт | 8 | 20 | 12 | 12 | 30 | |||||||
|
Напряжение, В |
380/220 |
380/220 |
380/220 |
380/220 |
380/220 | |||||||
|
Сварочное устройство | – | – | – | – |
Трансформатор ТС6-300 (по заказу) | |||||||
|
Механизм развинчивания |
Ротором трубы диаметром 60 мм |
РТ-1200М |
Ротором трубы диаметром 60 мм |
Ротором трубы диаметром 73 мм, гидрораскрепитель |
Гидрораскрепитель, электролебедка | |||||||
|
Управление основными рабочими механизмами | Механическое | Пневмагическое | ||||||||||
|
Укрытие | – |
Укрытие бурильщика и верхового рабочего |
Укрытие бурильщика и верхового рабочего |
Укрытие бурильщика |
Укрытие блоков и верхового рабочего (по заказу) | |||||||
|
Габариты основного блока в транспортном положении, м |
10,7х2,8х3.5 |
10.86хЗх3.75 |
10.86хЗх3.75 |
10.86хЗх3.75 |
12,46х2,65х х4,16х10,0х х3,0х3,25 | |||||||
|
Масса основного блока, т (транспортная) |
13,7 |
14,8 |
14,4 |
14,7 |
24,1 (20,9 насосный) | |||||||
|
Гарантийный срок исправной работы, мес |
12 |
12 |
9 |
12 |
12 | |||||||
|
Межремонтный период до первого капитального ремонта, ч |
6400 |
7000 |
8000 |
8000 |
6000 | |||||||
