Проектирование металлического каркасаРефераты >> Строительство >> Проектирование металлического каркаса
Расчетная вертикальная нагрузка от колес при совместном действии двух кранов:
Р=Кд∙jf∙Кс∙Рн=1,1∙1,1∙0,85∙370=380,5 кН,
Здесь Р1н, Р2н – нормативное давление колес; Кд – коэффициент динамичности по п.4.9 /3/.
Расчетная горизонтальная нагрузка на одно колесо крана от торможения тележки
Тк= Кд∙jf∙Кс∙Ткн=1,1∙1,1∙0,85∙14,75=15,1 кН,
Ткн = [(Qкр+gт)/N0]∙f=[(800+380)/4]∙0,05=14,75 кН
Где Qкр – грузоподъемность крана (кН); gт – вес тележки (кН); N0 – число колес на одной стороне крана; f – коэффициент трения (0,05 при гибком подвесе груза).
рис. 6.1. – Схема крановой нагрузки от двух сближенных кранов
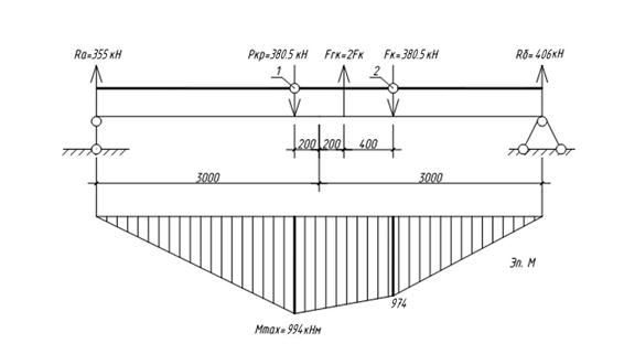
При пролете балки 6 м. На ней помещается 4 колеса, но наихудшее положение крана:
рис. 6.2. – Схема определения максимального момента
Для определения положения равнодействующей от этих колес выбирается точка (первое колесо). Положение равнодействующей определяется из условия, что сумма моментов всех сил относительно первого колеса равна нулю. Поэтому расстояние от первого колеса до равнодействующей всех грузов:
6.1.2 Определение критического груза
Ближайшее к равнодействующей колесо считается критическим (колесо №1). Для его определения находят расстояния до этих колес.
6.1.3 Определение расстояний от колес до опор балки
Для определения Мmax необходимо грузы на балке расположить так, чтобы критическое колесо P5 и равнодействующая R находились на одинаковых расстояниях от середины пролета балки. Наибольший момент должен быть под критическим грузом.(см рис 6.2)
6.1.4 Проверка правильности расстановки колес на балке
Проверяем условие:
,
условие выполняется.
6.1.5 Определение наибольшего изгибающего момента
Изгибающие моменты можно определить по эпюре моментов, для чего построим ее (см рис 6.2)
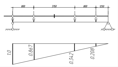
6.1.6 Определение наибольшей поперечной силы
Для определения максимальной поперечной силы загружаем линию влияния поперечной силы на опоре рис. 5.3.
Рис. 6.3. Расчетная схема подкрановой балки при
Значение Qmax определяется линией влияния опорной реакции по формуле:
6.1.7 Определение изгибающего момента и поперечной силы в ПБ от сил торможения
От действия сил торможения тележки в горизонтальной плоскости верхнего пояса ПБ и тормозной балки возникает изгибающий момент и поперечная сила, полученные при расстановках, соответствующих Mmax и Qmax . Поэтому значения моментов и поперечной силы находятся пропорционально отношению силы торможения и вертикального давления.
Момент
Поперечная сила
6.2 Подбор сечения подкрановой балки
Подбор сечения ведется по результатам статического расчета ПБ. Принимаем сталь марки С255 (t=10-20мм, Ry=240МПа).
6.2.1 Определение высоты подкрановой балки
По условию прочности определяют требуемый момент сопротивления балки:
Толщину стенки tω, мм принимаем по эмпирической формуле:
принимаем толщину стенки 12мм
где: h – высота подкрановой балки в метрах
Оптимальная высота подкрановой балки:
Т.к. нагрузка на подкрановую балку подвижна, ее сечение постоянно по длине.
По жесткости:
где: [f/l] – относительный прогиб по табл.19 [5] равен 1/400
= 370 кН – нормативное значение максимального давления от колеса мостового крана;
Принимаем hб=90см.
6.2.2 Определение размеров поясов
Требуемый момент инерции подкрановой балки определяют по выбранной высоте:
момент инерции поясов выражают через площади поясных листов, пренебрегая при этом собственным моментом инерции поясов относительно горизонтальной оси:
(зададимся толщиной полок 1,8 см, тогда высота стенки 86,4см)
отсюда площадь поясного листа
,
по ранее принятой толщине пояса (tf=1,8мм) определяем ширину пояса:
Из условия
принимаем пояс из листа сечением 18х300мм, Аf=54см2
В сжатом поясе должна быть обеспечена местная устойчивость свеса:
<
6.2.3. Выбор элементов тормозной балки
Тормозная балка состоит из верхнего пояса ПБ, горизонтального листа из рифленой стали толщиной 8мм и швеллера № 36.
Рис. 6.4. – Размеры подкрановой и тормозной балок
6.2.4 Определение геометрических характеристик подкрановых конструкций
|
Элемент сечения |
Угол поворота |
Зеркально |
|
Лист 864 x 12 |
90.0 | |
|
Лист 300 x 18 | ||
|
Лист 300 x 18 | ||
|
Лист 1340 x 8 | ||
|
Швеллеp с уклоном полок по ГОСТ 8240-89 36 |
