Проектирование металлического каркасаРефераты >> Строительство >> Проектирование металлического каркаса
Проверим нормальное напряжение в верхнем поясе (точка А):
Прочность стенки на действие касательных напряжений на опоре обеспечена, так как принятая толщина стенки больше определенной из условия среза.
Жесткость балки также обеспечена, так как принята высота балки больше минимальной высоты.
Проверим прочность стенки от действия местных напряжений под колесом крана:
,
где:lef – условная длина
Р – расчетное значение давления колеса
I1f – сумма собственных моментов инерции пояса балки и кранового рельса [методичка №790 табл.№2]
Для стенки должно выполняться условие (проверка по приведенным напряжениям)
где:
- нормальные напряжения параллельные оси балки, равные
20,7кН/см2 < 24.5∙1.15∙0.95кН/см2
6.2.5 Соединение поясов со стенкой
Пояса со стенкой соединяются угловыми швами. Швы воспринимают горизонтальное (Т) и вертикальное (V) сдвигающее усилия на единицу длины, которые определяются по касательным и местным напряжениям:
Принимаем:
bf=0,7, bz=1, принимается по табл. 34∙ [5],
gwf=1; gwz=1, принимается по п.п. 11.2 [5].
Для сварки принимаем электроды типа Э42 по ГОСТ 9467-75, табл. 55 [5].
Rwf=18 кН/см2, по табл. 56 [5], Rwz=0,45∙Run=0,45∙38=17,1 кН/см2
По металлу шва:[табл.37∙,5]
kf=
По металлу границы сплавления: [табл.37∙,5]
kf=
.
Принимаем kf=kf, min= 7мм [табл.38∙,5]
6.2.6 Проверка общей устойчивости балки
Так как балка по всей длине закреплена тормозной балкой, толщина листа которой более 6мм (8мм), общая устойчивость заведомо обеспечена.
6.2.7 Проверка местной устойчивости стенки ПБ
От действия нормальных, касательных, местных напряжений может произойти потеря устойчивости сжатого пояса или стенки балки.
Обеспечить местную устойчивость стенки можно увеличением ее размеров или постановкой ребер жесткости: от нормальных напряжений – продольных, от касательных – поперечных, от местных – коротких.
Ребра жесткости разбивают стенку на отсеки, устойчивость которых следует проверять на совместное действие
Устойчивость стенки не следует проверять, если условная гибкость стенки
при наличии местного напряжения в балках с двусторонними поясными швами.
6.2.8 Расчет опорной части балки
Концы разрезных балок усиливаются поперечными ребрами, которые передают опорное давление с балки на колонну. Применяют два типа: торцевые и внутренние. В торцевом ребре – нижний, а во внутренних – оба торца должны быть остроганы.
Применим торцевое опорное ребро жесткости, т.к. балка разрезная.
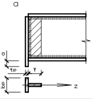
Рис. 6.9. – Торцевое опорное ребро
Требуемая площадь сечения ребра находится из условия сжатия при а>tp
Для (рис.6.9.) при величине a>1,5 tp требуемая площадь ребра:
,
где Rу – расчетное сопротивление стали сжатию, принимается по [5, табл.51 ].
Назначим ширину ребра равной bp = 300 мм. Толщина ребра:
,
принимаем 14мм
Предельное значение ширины выступающей части ребра вычисляется по формуле:
,
Фактический свес ребра:
,
Местная устойчивость ребра обеспечена
При нахождении условного стержня:
,
,
Площадь условного стержня:
,
,
,
По [5, табл. 72] φ=0,975
Условия обеспечения общей устойчивости проверяются по формуле:
,
Общая устойчивость опорного ребра обеспечена.
Опорное ребро приваривается к балке угловыми швами. Рассчитывают вертикальные швы, длина которых
. Исходя из этого, определяем требуемый катет шва:
По металлу шва
Принимаем:
bf=0,9, bz=1, 05 принимается по табл. 34∙ [5],
gwf=gwz=1, принимается по п.п. 11.2 [5].
Для сварки принимаем электроды типа Э42 по ГОСТ 9467-75, табл. 55 [5].
Rwf=18 кН/см2, по табл. 56 [5], Rwz=0,45∙Run=0,45∙38=17,1 кН/см2
По металлу границы сплавления
Принимаем катет шва 7 мм, что не меньше минимального значения по [5, табл.38], и не больше 1,2∙12мм=14,4мм.
Литература
1. Металлические конструкции Е.И. Беленя. - М., Стройиздат, 1986.
2. Пособие по проектированию каркасных промзданий для строительства в сейсмических районах. Госстрой СССР.- М., 1984.
3. СниП 2.01.07-85. Нагрузки и воздействия. М., 1988.
4. Методические указания. Статический расчет однопролетной поперечной рамы промздания с учетом сейсмического воздействия.
5. СниП II-23-81*. Стальные конструкции. М., 1990.
6. Методические указания. Расчет верхней части ступенчатой колонны промздания.
