Курс обучения электромонтажника по силовым сетям и электрооборудованиюРефераты >> Технология >> Курс обучения электромонтажника по силовым сетям и электрооборудованию
Ролики и клицы укрепляют на поверхности шурупами по ранее описанной разметке.
Плоские провода крепят на роликах двумя способами:
1- й способ закрепления. После закрепления всех роликов провод разматывают из бухты, выпрямляют и отмеряют нужной длины. Затем делают продольный разрез по линии соприкосновения жил так, чтобы через получившееся отверстие могла пройти головка ролика. Провод надевают на головку крайнего ролика и закрепляют вязальной проволокой или тесьмой так же, как при монтаже электропроводок проводами ПРД, ПРВД. Далее провод натягивают до следующего промежуточного ролика; на проводе против ролика делают следующий продольный разрез по линии соприкосновения жил. Через получившееся отверстие пропускают головку ролика, далее таким же образом провод закрепляется на оставшихся роликах.
2- й способ закрепления плоского провода на роликах (аналогично закреплению провода на клицах) заключается в следующем:
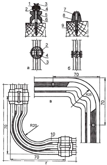
• при установке ролика под шляпку шурупа подкладывают полоски листового металла шириной 15 мм и длиной 50-80 мм. Чаще всего применяют белую листовую жесть;
• после закрепления всего ряда роликов плоский провод кладут на шляпку шурупа с прокладкой из изоляционного материала шириной 17 мм;
• после укладки провода концы металлической и изоляционной пластины загибают замком (или закрепляют пряжкой). Провод натягивают до следующего ролика и закрепляют аналогичным образом (рис. 8 а).
|
Рис. 8. Прокладка проводов на роликах, примеры изгиба проводов: а - провод АППВ на роликах; б - провода АППВ, АПН, АПР, АПРВ по деревянным основаниям на клицах; в - пример изгиба проводов марок АППВ и АППР; г - пример изгиба проводов марок АПВ, АПН и АПРВ на ребро: 1 - провод АППВ 2x6; 2 - полоска; 3 - пряжка; 4 - прокладка из электрокартона; 5, 9 - шурупы; 6 - ролик РП-2,5; 7 - провод АПР; 8 - клица; 10 - провод АПН 3x4 |
Прокладка плоских проводов марок АПН, АПР, АПВ, АПРВ на клицах. В этом случае плоский провод крепится к стене через клицу с помощью шурупа через отверстие в разделительной пленке между жилами. В этом случае необходимо под головку шурупа подкладывать электроизоляционную шайбу и при заворачивании шурупа проявлять осторожность и не повредить изоляцию провода (рис. 8 б).
При изгибах плоских двух- и трехжильных проводов на 90° разделительную пленку между жилами в месте изгиба вырезают, одну или две жилы отводят внутрь угла в виде полупетли (рис. 8 в). Двухжильный и трехжильный провод типа АПН при повороте трассы на 90° изгибают на ребро, предварительно разрезав разделительную пленку, при этом внутренняя жила в месте поворота частично накладывается на внешнюю (рис. 8 г). Одножильные провода марок АПН, АПВ и АПРВ изгибают радиусом 20 мм, когда площадь сечения до 10 мм , и радиусом 35 мм, если площадь сечения от 16 до 35 мм2.
Крепление плоских проводов к бетонным и кирпичным основаниям. Плоские провода имеют светостойкую изоляцию, поэтому их можно применять в открытых электропроводках непосредственно по стенам, перегородкам и потолкам из несгораемых материалов, при этом плоские провода прикрепляют к бетонным и кирпичным основаниям при помощи стальной полоски (ленты) шириной 20-40 мм и толщиной 3-4 мм, которую прибивают к стене дюбель- гвоздями вдоль всей трассы проводки (рис. 9). Расстояние между соседними дюбель-гвоздями не более 1 м.
|
Рис. 9. Крепление проводов марок АПВ, АППВ, АПН, АПРВ к бетонным основаниям по пристреливаемой стальной полосе: а - крепление полосы дюбель-гвоздем; б - крепление провода: 1 - полоса; 2 - дюбель-гвоздь; 3 - прокладка из электрокартона; 4 - провод АПН 3?4; 5 - лента монтажная; 6 - монтажная кнопка |
Провода к ленте крепят через каждые 30-40 см полосками шириной 10 мм из белой жести, оцинкованного или окрашенного стального листа или при помощи нормализованных монтажных перфорированных полос и пряжек. Провода под полосками должны быть защищены прокладками из электроизоляционного картона, выступающими на 1,5-2 мм с обеих сторон металлической полоски.
На рисунке 10 а показано крепление проводов марок АПВ, АППВ, АПН, АПРВ к бетонным и кирпичным основаниям по пристреливаемой проволоке, а на рисунке 10 б - при помощи пристреливаемых закрепов с полосками.
|
Рис. 10. Крепление проводов марок АПВ, АЛПВ, АЛН, АПРВ к бетонным и кирпичным основаниям: а - по пристреливаемой проволоке; б - по пристреливаемым закрепам с полосками: 1 - пластинка; 2 - дюбель-гвоздь; 3 - проволока; 4 - АПН 3x4; 5 - прокладка из электрокартона; 6 - стальная полоса; 7 - пряжка |
Прокладка проводов по приклеенным элементам крепления. Пластмассовые или стальные детали крепления плоских проводов и кабелей марок АВРГ и АНРГ можно приклеивать к бетонным, железобетонным, керамзитобетонным, асбоцементным, кирпичным и керамическим основаниям, поверхность которых сухая, прочная, очищенная от пыли, грязи и копоти, при помощи специальных клеев, например, клей КНЭ-2/60 (кумаронатриевый электротехнический) или БМК-5К на основе акриловой смолы с наполнителем каолином.
Запрещается приклеивать провода непосредственно к строительному основанию.
Пластмассовые и металлические детали перед приклеиванием обезжиривают ацетоном или бензином. Качество и прочность приклеивания зависят от соблюдения технологии. Сначала необходимо зачистить основание металлической щеткой и нанести шпателем клей на строительное основание на площади, несколько превышающей размер приклеиваемой детали. Затем нанести клей на приклеиваемую деталь и прижать ее на 3-5 секунды к строительному основанию.
Приступать к электромонтажным работам можно после полного высыхания клея (2025 час.). Клей можно применять только при температуре в помещении более 5 С и относительной влажности не более 70 %.
Выполняя монтажные работы с применением клея, необходимо соблюдать правила пожарной безопасности, принятые для легковоспламеняющихся жидкостей, избегать попадания клея на кожу рук, лицо и в глаза. На рис. 11 показаны некоторые другие способы крепления проводов и кабелей к бетонным, кирпичным и им подобным основаниям.
|
Рис. 11. Крепление проводов марок АПВ, АППВ, АПН, АПРВ и кабелей АВРГ и АНРГ к бетонным и кирпичным основаниям: а - при помощи полоски, прибиваемой дюбелем-гвоздем (ручная забивка); б - при помощи пластмассовых скоб; в и г - при помощи скоб с одной и двумя лапками; д - при помощи полоски, вмазанной в основание: 1 - дюбель-гвоздь; 2 - провод АПН 3?4; 3, 10 - полоска; 4 - прокладка из электрокартона; 5 - пластмассовая скоба; 6 - скоба; 7 - шуруп; 8 - капроновый дюбель; 9 - кабель АВРГ (АНРГ) 3?10 + 1?6; 11 - пряжка; 12 - алебастр |
