Курс обучения электромонтажника по силовым сетям и электрооборудованиюРефераты >> Технология >> Курс обучения электромонтажника по силовым сетям и электрооборудованию
|
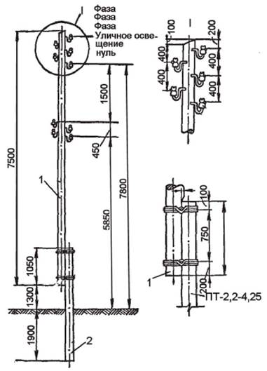
Рис. 34. Промежуточная деревянная опора с железобетонной приставкой ПН-1ДБ: 1 стойка: 0140, длина 7500 (6900); 2 - приставка ПТ-2,2-4,25 |
|
Рис. 35. Деревянные угловые и анкерные опоры с железобетонными приставками (УПН- 1ДБ; УАН-1ДБ; ОАН-1ДБ): 1 - стойка: 0180, длина 7500; 2 - подкос: 0180, длина 6500; 3 - приставка ПТ-2,2-4,25 |
Для повышения надежности и долговечности опор, а также для уменьшения расхода длинномерного леса, опоры рекомендуется устанавливать на железобетонных приставках.
Опоры из цельного леса можно применять, лишь тщательно обработав древесину антисептиком. Он должен проникнуть в заболонную древесину не менее чем на 20 мм, в ядровую не менее чем на 5 мм.
Для ВЛ изготавливаются приставки длиной 3,25 и 4,25 м. Все детали при сборке опор должны быть плотно подогнаны друг к другу. Зазор в местах врубок и стыков не должен превышать 4 мм. Обрабатывать стойки и приставки нужно так, чтобы стык был совершенно плотным, без просветов. Заполнять клиньями щели и неплотности не разрешается.
Бандажи для сопряжения приставок с опорами выполняют из мягкой стальной оцинкованной проволоки диаметром 4 мм или неоцинкованной диаметром 5-6 мм, покрытой асфальтовым лаком.
|
Диаметр провсмюки, мм |
Число витков |
|
4 |
12 |
|
5 |
10 |
|
6 |
8 |
|
Таблица 22. Число витков проволоки в |
|
бандажах |
|
Таблица 23. Промежуточные деревянные опоры с
|
траверсой
Выполнение бандажа. Все витки бандажа должны быть плотно прижаты друг к другу. При обрыве хотя бы одного витка весь бандаж следует заменить новым. Концы проволоки бандажа загибают и забивают в древесину на глубину 20-25 мм.
Применение хомутов. Допускается вместо проволочных бандажей применять стяжные хомуты на болтах. Все металлические детали деревянных опор обязательно защищают от коррозии лакокрасочным покрытием или оцинковывают.
Все виды опор могут быть с подкосами или с оттяжками, которые прикрепляются к специальным анкерам, закрепленным в земле или к конструкции зданий и сооружений. Верхний конец оттяжки закрепляется на опоре не ближе 1 м от крюков. Оттяжки могут быть многопроволочными или однопроволочные, сечением не менее 25 мм .
