Курс обучения электромонтажника по силовым сетям и электрооборудованиюРефераты >> Технология >> Курс обучения электромонтажника по силовым сетям и электрооборудованию
|
вл |
|
Таблица 20. Допустимые длительные токовые нагрузки по нагреву на неизолированные |
|
провода вне помещений при температу |
ре воздуха | |||||
|
Марка провода |
Нагрузка, А |
Марка провода |
Нагрузка, А |
Марка провода |
Нагрузка, А | |
|
1 |
2 |
3 |
4 |
5 |
6 | |
|
А; АН; АЖ-16 |
105 |
АС-10 |
84 |
ПС-25 |
60 | |
|
А; АН; АЖ-25 |
135 |
АС-16 |
111 |
ПС-35 |
75 | |
|
А; АН; АЖ-35 |
170 |
АС-25 |
142 |
ПС-50 |
95 | |
|
А; АН; АЖ-50 |
215 |
АС-35 |
175 |
ПС-70 |
125 | |
|
А; АН; АЖ-70 |
265 |
АС-50 |
210 |
ПС- 95 |
135 | |
|
А; АН; АЖ-95 |
320 |
АС-70 |
265 |
ПСО-3 |
23 | |
|
А; АН; АЖ-120 |
375 |
АС-95 |
375 |
ПСО-3,5 |
26 | |
|
А; АН; АЖ-150 |
440 |
АС-120 |
380 |
ПСО-4 |
30 | |
|
+25 °С |
АС-150 |
450 |
ПСО-5 |
35 | ||
Примечание. При температуре наружного воздуха, отличающейся от +25 °С, необходимо нагрузки умножить на поправочные коэффициенты, см. ниже.
|
Таблица 21. Поправочные коэффициенты для токовых нагрузок на неизолированные
|
воздуха
Опоры для воздушных линий
Для прокладки воздушных линий должны применяться железобетонные или деревянные опоры. Деревянные опоры устанавливают на приставках либо выполняют цельными. Для изготовления опор следует применять сосну и лиственницу. Допускается использование ели и пихты.
Лес для изготовления опор должен быть целиком очищен от коры и пропитан антисептиком. Допускается применение непропитанной лиственницы.
В зависимости от назначения на линиях применяются следующие типы опор:
• промежуточные - устанавливаются на прямых участках ВЛ. Эти опоры в нормальном режиме не воспринимают усилий, направленных вдоль линии, так как число проводов и их натяжение с обеих сторон опоры одинаково;
• анкерные - на пересечениях с различными сооружениями и в местах изменения количества, марки и сечения проводов. Эти опоры в нормальном режиме воспринимают нагрузки от разности тяжения проводов, направленные вдоль ВЛ;
• угловые - применяются в местах изменения направления линий. Они воспринимают суммарное тяжение проводов смежных пролетов;
• концевые - устанавливаются в начале и конце линии и в местах, где имеются кабельные вставки. Они воспринимают одностороннее тяжение проводов;
• ответвительные - с их помощью осуществляются ответвления от ВЛ;
• перекрестные - на них выполняются пересечения линий двух направлений.
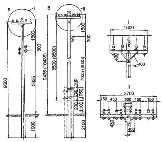
Ответвительные и перекрестные опоры могут быть промежуточными, угловыми и анкерными. Конструкции и основные размеры типовых деревянных опор, наиболее часто применяемых для линий, показаны на рис. 33, 34, 35.
|
Рис. 33. Промежуточные деревянные опоры с траверсой: а - цельная опора ПН-1Д; б переходная опора с железобетонной приставкой ППН-2(3)ДБ |
