Курс обучения электромонтажника по силовым сетям и электрооборудованиюРефераты >> Технология >> Курс обучения электромонтажника по силовым сетям и электрооборудованию
электронасосов
Электромагнитные вибрационные насосы. Широкое распространение получили объемно- инерционные насосы с электромагнитным вибрационным двигателем. Принцип их действия основан на использовании электромагнитных колебаний, передаваемых клапану-плавнику. При сравнительно небольшой потребляемой мощности (250 Вт) и малой массе производительность таких насосов достигает 1,5 м /час при максимальном напоре до 40 м.
Электромагнитные (вибрационные) насосы не имеют трущихся поверхностей вращающихся деталей и не требуют смазки. К ним относятся насосы «Малыш», НЭБ-1/20, «Струмок», «Родничок». Характеристики вибрационных электронасосов приведены в табл. 40.
Электромагнитные насосы предназначены для подъема воды из колодцев и трубчатых скважин при их непосредственном погружении в воду без предварительной заливки водой.
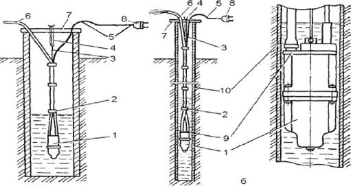
Питаются насосы от однофазной сети переменного тока. Режим работы длительный. Установка электронасоса «Малыш» показана на рис. 47.
|
Рис. 47. Установка электронасоса «Малыш»: а - в колодце; б - в обсадной трубе: 1 - насос; 2 - связка провода со шлангом; 3 - подвеска капроновая; 4 - пружинная подвеска из резины; 5 - провод; 6 - шланг; 7 - перекладина; 8 - вилка; 9 - кольцо; 10 - труба обсадная |
|
|
|
Таблица 41. Характеристики электромагнитных (вибрационных) |
|
насосов |
В условиях садового хозяйства и индивидуального коттеджа находят широкое применение автоматизированные водоподъемные установки бытового назначения ВУ-1,5-19 и ВУ-45, которые позволяют при условии надежного электроснабжения полностью автоматизировать систему водоснабжения потребителей с суточным водопотреблением до 10 м3.
Установки ВУ работают следующим образом. Подается напряжение на блок управления. Выключателем приводится в действие насос, вода подается потребителю. Если расход воды прекратился или он меньше подачи насоса, то вода поступает в камеру гидроаккумулятора. Наполняя гидроаккумулятор, вода сжимает воздушную камеру, давление в системе растет и по достижении заданного значения давления реле РД-1м отключит насос. При возобновлении потребления вода в трубопроводную сеть подается из гидроаккумулятора под давлением сжатого воздуха. Постепенно давление в гидроаккумуляторе падает, и, когда оно достигает нижнего значения настройки, реле включит насос в работу. Затем цикл работы установки ВУ повторяется. Таким образом, потребитель постоянно обеспечен водопроводной водой.
Насосы
Водяные насосы по назначению различают как:
• водоподъемные: предназначены для извлечения воды из колодцев, скважин и подъема ее на нужную высоту;
• дренажные: призваны откачивать воду из подвалов, погребов или котлованов. К дренажным относят также насосы фекальные, сфера их применения очевидна из названия;
• циркуляционные: специализированные насосы, задача которых поддержание постоянной циркуляции (или по-другому - движения воды в отопительной системе дома.
Насосная станция
Обычный неавтоматический насос, если к нему «приделать» реле и гидроаккумулятор (водонапорный бак), превратится в автоматическую станцию водоснабжения.
Водонапорный бак - герметичная емкость из пищевой нержавейки, перегороженная внутри специальной резиновой или каучуковой мембраной. Часть бака заполнена воздухом под давлением (подкачать в него воздух можно с помощью обыкновенного автомобильного насоса). Другая часть емкости заполняется водой при работе насоса.
Реле следит за давлением в баке, вода закачивается до тех пор, пока давление не достигнет заданного верхнего порога. После этого насос выключается. Стоит открыть кран в системе водоснабжения, к которой подключена станция, как вода из бака начинает вытекать. Если хозяин просто решил попить, то насос даже не включится, весь расход будет покрыт небольшим падением давления в баке. Если речь идет о щедром поливе, то давление в баке падает ниже заданного порога и реле включает насос. Все повторяется снова.
Очевидно, что чем больше бак, тем реже будет включаться насос. Объем гидроаккумулятора в зависимости от модели и комплектации может быть и 20, и 1000 литров, и более. Причем цена связана с объемом прямо пропорционально.
Советы
Если колодец выкопан недостаточно глубоко, то есть слой почвы пройден, но до чистых водоносных слоев дело не дошло, то «влага» получится с большим количеством взвесей, которые быстро изнашивают крыльчатку насоса.
Величина необходимого напора складывается из высоты, на которую воду нужно доставить, и давления на этой высоте. Десять метров - одна атмосфера. Вы вправе самостоятельно определить границы своих потребностей и в соответствии с этим выбрать нужный насос. «Ориентиры» для выбора таковы: горожане привыкли, чтобы вода из крана била как следует, а это 1,5-2 атмосферы; гидроаккумулятору для работы необходимы 2-3 атмосферы; 2 атмосферы потребуется для водяного фильтра; кроме того, стиральная машина тоже работает с двумя атмосферами, посудомоечная - с 1,5 атм. и т. д.
Скорость расхода воды через сильно открытый водопроводный кран при напоре в 2 атмосферы составляет примерно 3-4 литра в минуту, через душ - 10-12 литров в минуту. Обычный человек расходует примерно 200 литров воды в сутки.
Конечно, при расчете расхода воды следует не забывать о возможностях колодца или скважины. Если их водоотдача меньше, чем потребление, уровень воды может опуститься. В лучшем случае это приведет тому, что влага уйдет так глубоко, что насосу не хватит сил ее добыть. В худшем - источник опустеет, а «сухой ход» - верная смерть для водяного насоса.
Правила эксплуатации:
1- е: Водяной насос не должен работать без воды. В частности, поверхностные насосы имеют специальное отверстие в корпусе, через которое в них заливают воду перед первым включением.
2- е: При хранении насосов зимой в местах, где температура может упасть ниже точки замерзания воды, следует в обязательном порядке слить из насоса воду (иначе, превратившись в лед, она расширится и может серьезно повредить аппарат).
3- е: Дренажные насосы следует хранить, перевозить и использовать только в вертикальном положении.
Использование электрической энергии для тепловых целей
Использование электрической энергии для тепловых целей постоянно расширяется. Отопительные электроприборы, предназначенные для нагрева помещений, просты и безопасны в эксплуатации, компактны и гигиеничны, при их применении легко автоматизировать
